授权公布号:CN220195758U
一种超声波零件自动清洗装置
有效
申请
2023-05-23
申请公布
1970-01-01
授权
2023-12-19
预估到期
2033-05-23
| 申请号 | CN202321257944.8 |
| 申请日 | 2023-05-23 |
| 授权公布号 | CN220195758U |
| 授权公告日 | 2023-12-19 |
| 分类号 | B08B3/12;B08B3/02;B08B13/00;F26B21/00 |
| 分类 | 清洁; |
| 申请人名称 | 广西北港不锈钢有限公司 |
| 申请人地址 | 广西壮族自治区北海市铁山港区四号路与七号路交汇处 |
专利法律状态
2023-12-19
授权
状态信息
授权
摘要
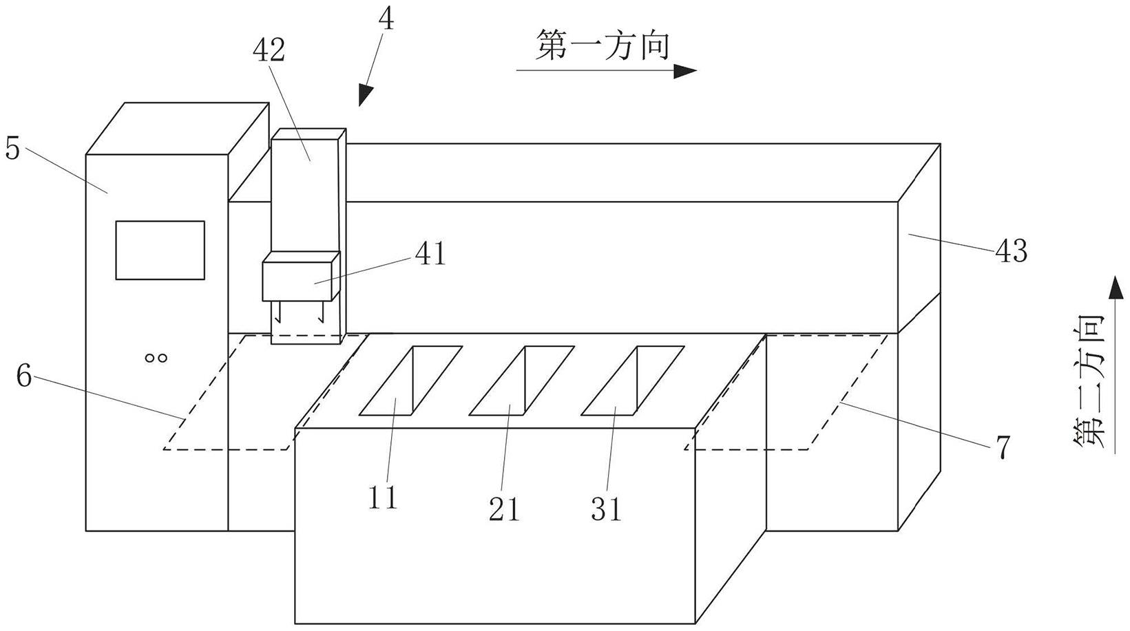
本实用新型涉及工业零件清洗技术领域,公开了一种超声波零件自动清洗装置,该装置包括:粗洗部、精洗部、干燥部、机械手组件和控制装置,粗洗部包括冲洗槽、以及设于冲洗槽内的喷淋部,喷淋部用于向冲洗槽内喷射清洗液;精洗部包括超声波清洗槽、以及设于超声波清洁槽的底壁外侧的超声波装置,超声波装置包括超声波发生器和与超声波发生器电连接的换能器;干燥部包括干燥槽、以及干燥槽内设置有风干部;机械手组件用于取放待清洗零件,用于在冲洗槽、超声波清洗槽和干燥槽之间动作;控制装置与喷淋部、超声波装置、以及风干部信号连接,与机械手组件信号连接。上述装置可实现自动清洗零件,降低人工劳动强度,且零件的清洗效果有效提高。


