授权公布号:CN220433307U
铁路道岔平移运输装置
有效
申请
2023-05-24
申请公布
1970-01-01
授权
2024-02-02
预估到期
2033-05-24
| 申请号 | CN202321274594.6 |
| 申请日 | 2023-05-24 |
| 授权公布号 | CN220433307U |
| 授权公告日 | 2024-02-02 |
| 分类号 | E01B29/05 |
| 分类 | 道路、铁路或桥梁的建筑; |
| 申请人名称 | 广西柳州钢铁集团有限公司 |
| 申请人地址 | 广西壮族自治区柳州市北雀路117号 |
专利法律状态
2024-02-02
授权
状态信息
授权
摘要
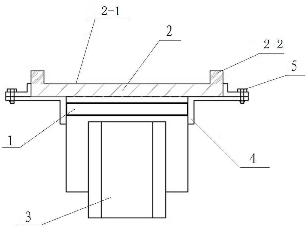
本实用新型公开一种铁路道岔平移运输装置,涉及铁路技术领域,它包括滑轮组和滑轨;所述滑轮组包括滑轮、滑轮支架和岔枕托板;所述滑轮安装在所述滑轮支架下部,所述岔枕托板安装在所述滑轮支架顶部并通过固定螺栓和所述滑轮支架固定连接;所述岔枕托板两端加焊有用于卡住岔枕托板档条;所述滑轨下方由短木枕承接,所述滑轨两端头设有止档;使用时滑轮组置于所述滑轨上。本实用新型可以解决现有的铁路道岔砼枕化大修改造施工存在对施工场地条件要求高,必须具备大型汽车吊进出以及吊装作业条件,成本高且吊装作业危险系数大或者投入作业人员多且劳动强度大,及施工时间长和对行车组织影响大的问题。


