授权公布号:CN217417008U
一种防米结块碾压装置
有效
申请
2022-02-09
申请公布
1970-01-01
授权
2022-09-13
预估到期
2032-02-09
| 申请号 | CN202220269255.8 |
| 申请日 | 2022-02-09 |
| 授权公布号 | CN217417008U |
| 授权公告日 | 2022-09-13 |
| 分类号 | B65G15/30;B65G69/20;B65G47/22 |
| 分类 | 输送;包装;贮存;搬运薄的或细丝状材料; |
| 申请人名称 | 嘉兴市南湖斋食品股份有限公司 |
| 申请人地址 | 浙江省嘉兴市南湖区七星街道星耘路802号 |
专利法律状态
2022-09-13
授权
状态信息
授权
摘要
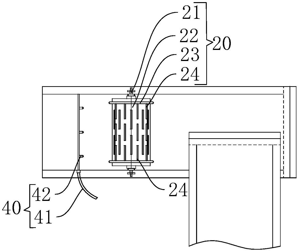
本实用新型提供了一种防米结块碾压装置,包括:传输带,该传输带用于传输清洗晾干后的糯米;防米结块碾压机构,防米结块碾压机构设置于传输带上,防米结块碾压机构包括连接端和碾压部,连接端设置于碾压部的两侧,且碾压部为圆柱形,碾压部上设置有与输送带接触的环形凸起,碾压部的周向上设置有若干相互平行设置的长条形拨块。本实用新型具有方便传输、使操作便利的特点。


