授权公布号:CN112107039B
一种使用舒适的婴儿泳裤
有效
申请
2017-07-03
申请公布
2020-12-22
授权
2023-03-03
预估到期
2037-07-03
| 申请号 | CN202011022825.5 |
| 申请日 | 2017-07-03 |
| 申请公布号 | CN112107039A |
| 申请公布日 | 2020-12-22 |
| 授权公布号 | CN112107039B |
| 授权公告日 | 2023-03-03 |
| 分类号 | A61F13/496;A41D31/02;A41D27/00;A61F13/494;A61F13/495;A61F13/53 |
| 分类 | 服装; |
| 申请人名称 | 爹地宝贝股份有限公司 |
| 申请人地址 | 福建省福州市福清市新厝镇蒜岭308号 |
专利法律状态
2023-03-03
授权
状态信息
授权
2020-12-22
公布
状态信息
公布
摘要
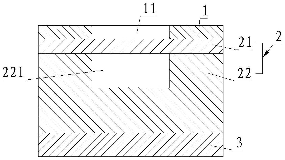
本发明提供了一种使用舒适的婴儿泳裤,从上到下依次包括面层、吸收层和防水层,所述面层的中部设有镂空部,所述吸收层从上到下依次包括大网格层和木浆层,所述木浆层的上表面中部设有凹槽,所述防水层采用拒水材料制作。婴儿的便便经面层的镂空部、大网格层后掉落在木浆层的凹槽内存储,使婴儿泳裤具有盛接婴儿便便的功能。


