授权公布号:CN212290894U
一种多次使用的速冻水饺包装盒
有效
申请
2020-04-22
申请公布
1970-01-01
授权
2021-01-05
预估到期
2030-04-22
| 申请号 | CN202020614670.3 |
| 申请日 | 2020-04-22 |
| 授权公布号 | CN212290894U |
| 授权公告日 | 2021-01-05 |
| 分类号 | B65D25/02 |
| 分类 | 输送;包装;贮存;搬运薄的或细丝状材料; |
| 申请人名称 | 万德福(苏州)食品科技有限公司 |
| 申请人地址 | 江苏省苏州市苏州工业园区葑亭大道395号 |
专利法律状态
2021-01-05
授权
状态信息
授权
摘要
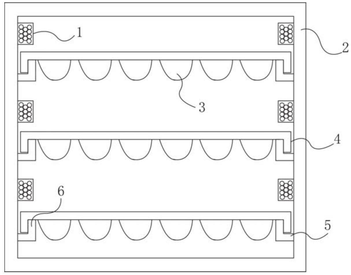
本实用新型涉及一种多次使用的速冻水饺包装盒,包括包装盒体、盒盖以及多个托盘,包装盒体内侧壁相对设有水平设置的滑道,滑道端部垂直向上弯折形成支撑弯折部,托盘两侧沿边线设有连接部,连接部外端垂直向下弯折形成滑动弯折部,支撑弯折部与滑动弯折部形状相适配,使连接部与滑道滑动连接,包装盒体前侧面开口,盒盖在包装盒体开口位置与包装盒体可拆卸连接,本实用新型结构设计科学合理,易于实现,可根据食用量将托盘内的部分水饺倾倒进锅内,剩余水饺可继续在托盘内保存,将托盘重新滑动连接于包装盒体内,通过盒盖重新密闭包装盒体,增加了包装盒的使用效率,有利于整个包装盒的循环使用,具有较高的应用推广价值。


