授权公布号:CN206978666U
一种大型豆腐乳生产用黄豆预处理装置
有效
申请
2017-04-18
申请公布
1970-01-01
授权
2018-02-09
预估到期
2027-04-18
| 申请号 | CN201720404622.X |
| 申请日 | 2017-04-18 |
| 授权公布号 | CN206978666U |
| 授权公告日 | 2018-02-09 |
| 分类号 | A23L11/30;A23L3/26 |
| 分类 | 其他类不包含的食品或食料;及其处理; |
| 申请人名称 | 江西永叔府食品有限公司 |
| 申请人地址 | 江西省吉安市永丰县桥南工业园区 |
专利法律状态
2018-02-09
授权
状态信息
授权
摘要
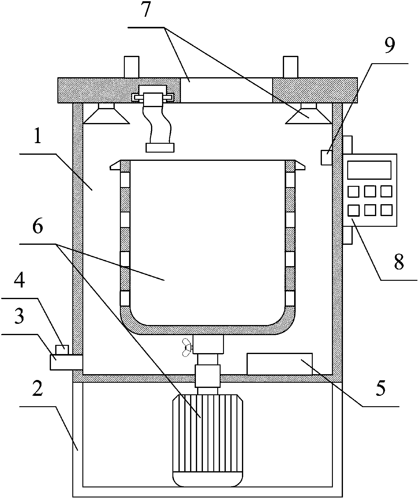
本实用新型提供一种大型豆腐乳生产用黄豆预处理装置,包括罐体,支撑架,废料出管,电磁阀门,加热器,分离桶结构,防护盖结构,控制器和温度传感器,所述的支撑架焊接在罐体的底部;所述的废料出管焊接在罐体的左下部;所述的加热器安装在罐体内部底端的右侧;所述的分离桶结构的一端安装在罐体内部的中间部位,另一端安装在支撑架的内侧。本实用新型的有益效果为:通过分离桶结构的设置,有利于更加方便的分离黄豆与黄豆上的杂质,通过防护盖结构的设置,有利于防止其它的杂物进入到该黄豆预处理装置内,同时也更加方便的查看该黄豆预处理装置内的情况,通过消毒灯结构的设置,有利于增加该黄豆预处理装置处理的效果。


