授权公布号:CN212994232U
一种橄榄菜自动高效清洗脱盐装置
失效
申请
2018-08-29
申请公布
1970-01-01
授权
2021-04-20
预估到期
2028-08-29
| 申请号 | CN201821401172.X |
| 申请日 | 2018-08-29 |
| 授权公布号 | CN212994232U |
| 授权公告日 | 2021-04-20 |
| 分类号 | A23L19/20;A23L5/20;A23N12/02 |
| 分类 | 其他类不包含的食品或食料;及其处理; |
| 申请人名称 | 广东潮盛食品实业有限公司 |
| 申请人地址 | 广东省潮州市潮安区庵埠梅龙工业区 |
专利法律状态
2023-09-08
专利权的终止
状态信息
未缴年费专利权终止;IPC(主分类):A23L5/20;专利号:ZL201821401172X;申请日:20180829;授权公告日:20210420;终止日期:
2021-04-20
授权
状态信息
授权
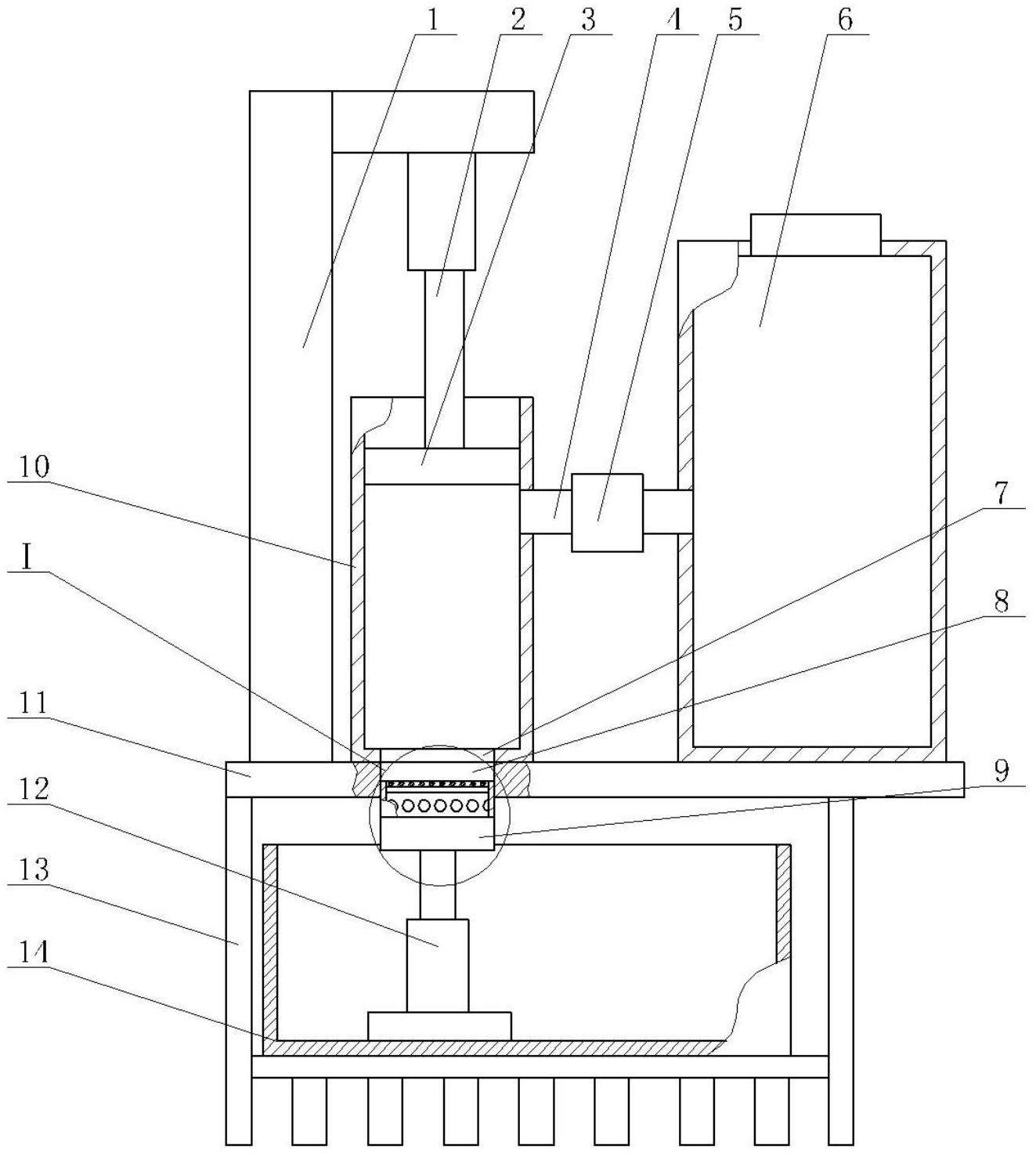
摘要
一种橄榄菜自动高效清洗脱盐装置,包括支架,支架的下部安装挤出液池,挤出液池的内侧底部安装第二液压缸,第二液压缸的固定端与挤出液池的内侧底部连接,第二液压缸的输出端连接过滤封堵装置,本实用新型的通过过滤封堵装置、料缸、活塞和第一液压缸相结合,过滤封堵装置能够在过滤和封堵两个状态切换,从而在封堵状态时,塞块能够封堵住平台口的下口,避免水和橄榄菜露出,从而能够利用水泵向料缸内部加压输入水,使水能够更多地渗入到橄榄菜的内部,从而在对橄榄菜压榨时,能够更多地去除橄榄菜内部的盐分,提高橄榄菜的脱盐效果。


