授权公布号:CN208466702U
一种全自动包装袋清洗设备
有效
申请
2018-06-26
申请公布
1970-01-01
授权
2019-02-05
预估到期
2028-06-26
| 申请号 | CN201820998278.6 |
| 申请日 | 2018-06-26 |
| 授权公布号 | CN208466702U |
| 授权公告日 | 2019-02-05 |
| 分类号 | B08B3/10;B08B3/14;C02F9/02;B65B55/00 |
| 分类 | 清洁; |
| 申请人名称 | 北京月盛斋清真食品有限公司 |
| 申请人地址 | 北京市丰台区南顶路6号 |
专利法律状态
2019-02-05
授权
状态信息
授权
摘要
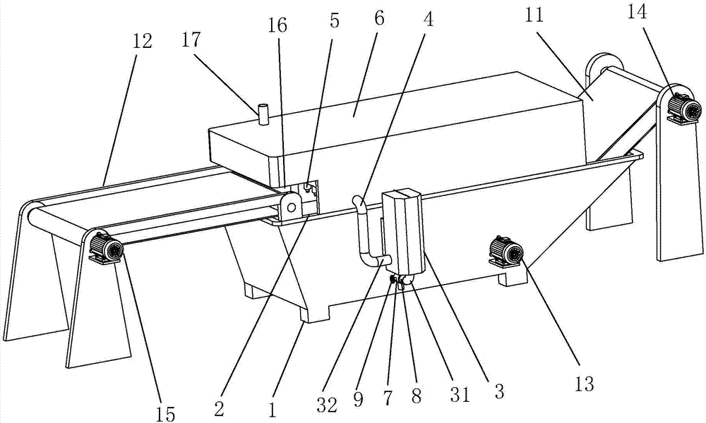
本实用新型涉及生产设备技术领域,具体涉及一种全自动包装袋清洗设备,包括机架,与机架匹配设置的机盖,设置在机架上的蓄水池,设置在机盖内表面的清洗装置,设置在蓄水池下方的循环水泵和输送装置;输送装置包括前输送装置和后输送装置,前输送装置伸入蓄水池上方,后输送装置一端设置在蓄水池内部,另一端向上倾斜伸出蓄水池;循环水泵一端连接蓄水池,另一端连接清洗装置;解决了传统清洗包装袋时,不断喷水,不断排水,浪费水资源的问题;具有清洗效果好,节约水资源的优点;并且投料与出料过程为全自动机械化操作,大大提高了工作效率,节约劳动力,降低了生产成本。


