授权公布号:CN208468472U
一种冻肉切片机
有效
申请
2018-06-26
申请公布
1970-01-01
授权
2019-02-05
预估到期
2028-06-26
| 申请号 | CN201820998276.7 |
| 申请日 | 2018-06-26 |
| 授权公布号 | CN208468472U |
| 授权公告日 | 2019-02-05 |
| 分类号 | B26D1/08;B26D5/08;B26D7/02;B26D7/06;B26D7/20;B26D7/32 |
| 分类 | 手动切割工具;切割;切断; |
| 申请人名称 | 北京月盛斋清真食品有限公司 |
| 申请人地址 | 北京市丰台区南顶路6号 |
专利法律状态
2019-02-05
授权
状态信息
授权
摘要
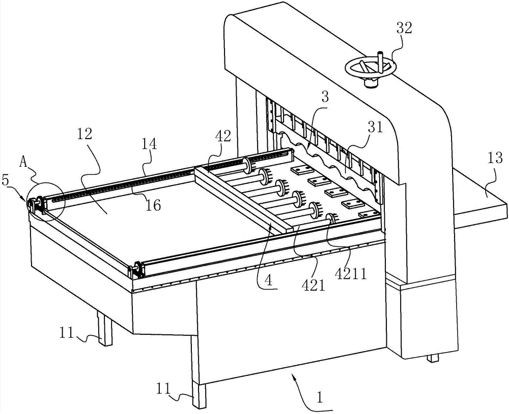
本实用新型公开了一种冻肉切片机,属于食品加工机械领域,包括机架,所述机架上设置有送料平台,所述送料平台上设置有送料机构、切料机构和压料机构,所述送料机构包括送料固定座、设置于送料平台两侧的传动丝杠以及驱动传动丝杠转动的驱动组件,两根所述传动丝杠设置有与传动丝杠相适配的传动螺母,所述送料固定座两端与所述传动螺母固定连接,所述送料固定座设置有抵触至送料平台上表面的清洁组件。其具有可以自动清理送料平台的水以及残渣,省时省力的优点。


