授权公布号:CN206836159U
草莓鲜果连续清洗机
有效
申请
2017-05-09
申请公布
1970-01-01
授权
2018-01-05
预估到期
2027-05-09
| 申请号 | CN201720510118.8 |
| 申请日 | 2017-05-09 |
| 授权公布号 | CN206836159U |
| 授权公告日 | 2018-01-05 |
| 分类号 | A23N12/02 |
| 分类 | 其他类不包含的食品或食料;及其处理; |
| 申请人名称 | 大连林家铺子食品股份有限公司 |
| 申请人地址 | 辽宁省大连市普湾新区石河街道,大连林家铺子食品股份有限公司 |
专利法律状态
2018-01-05
授权
状态信息
授权
摘要
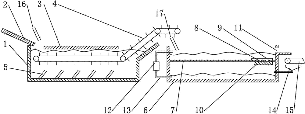
为了解决罐头生产中现有的草莓清洗技术效率低下的问题,本实用新型提供一种草莓鲜果连续清洗机。包括气泡清洗装置和水浮式清洗装置。所述的气泡清洗装置包括壳体1、进料板2、上盖板3、隔板传送带4、曝气头5、第一进水管16;所述的曝气头5有向壳体1出口侧倾斜的角度;所述的第一进水管16在气泡清洗装置进料口附近。所述的水浮式清洗装置包括外壳6、中间隔板7、隔板孔8、草莓挡网9、过滤器10、溢流口11、循环泵12、循环管路13、收集斗14、传送带15。本实用新型有益效果:草莓经过两级清洗,使清洗更加充分;循环管路和收集斗使得清水被循环利用,循环过程也是草莓清洗和移动的动力。


