授权公布号:CN215500932U
一种高速精细化选鱼机
有效
申请
2021-07-06
申请公布
1970-01-01
授权
2022-01-14
预估到期
2031-07-06
| 申请号 | CN202121533044.2 |
| 申请日 | 2021-07-06 |
| 授权公布号 | CN215500932U |
| 授权公告日 | 2022-01-14 |
| 分类号 | A01K61/95;A01K63/04 |
| 分类 | 农业;林业;畜牧业;狩猎;诱捕;捕鱼; |
| 申请人名称 | 广东甘竹罐头有限公司 |
| 申请人地址 | 广东省佛山市顺德区杏坛镇东村村 |
专利法律状态
2022-01-14
授权
状态信息
授权
摘要
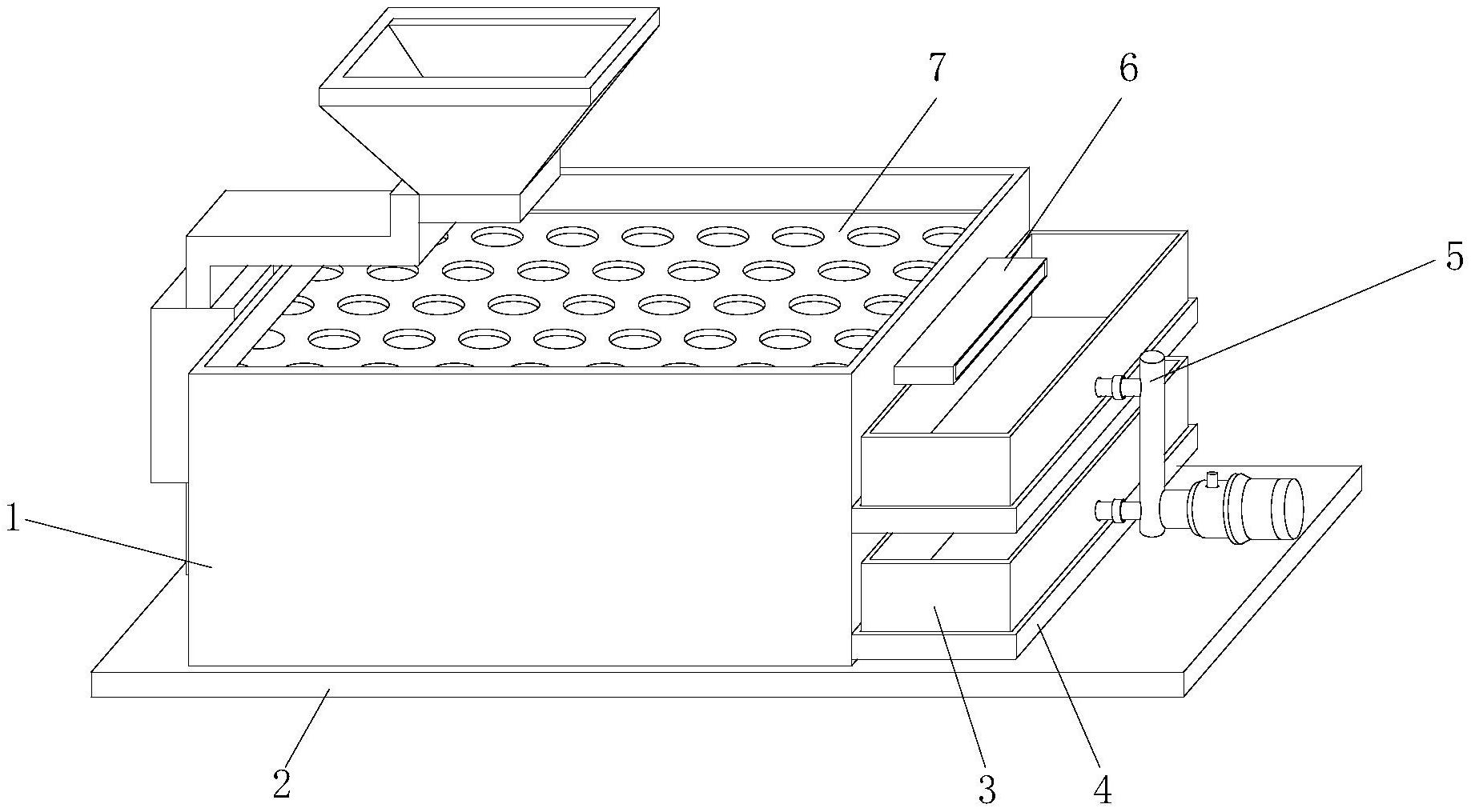
本实用新型公开了一种高速精细化选鱼机,属于鱼分选装置技术领域,包括底座,所述底座的上方设置有分选架体,所述分选架体的内部下方设置有收集箱,所述收集箱的上方设置有筛选框,所述筛选框共设置有两个,两个所述筛选框自上而下依次排列,所述分选架体的侧壁且对应筛选框的位置均设置有出鱼口,所述出鱼口的下方设置有集中箱,所述底座的上方靠近分选架体的一侧设置有循环水泵,所述集中箱远离分选架体的一侧设置有进水管;本实用新型通过循环水泵对集中箱内的水处理后循环至分选架体内,节约资源,提高资源利用率,通过增氧泵对集中箱和收集箱内增氧,保证内部氧气充足,避免鱼聚集而造成死亡,降低损耗。


