授权公布号:CN210585930U
一种玉米罐头分拣装置
有效
申请
2019-07-21
申请公布
1970-01-01
授权
2020-05-22
预估到期
2029-07-21
| 申请号 | CN201921150059.3 |
| 申请日 | 2019-07-21 |
| 授权公布号 | CN210585930U |
| 授权公告日 | 2020-05-22 |
| 分类号 | B07C5/02;B07C5/38;G01B21/08 |
| 分类 | 将固体从固体中分离;分选; |
| 申请人名称 | 广东甘竹罐头有限公司 |
| 申请人地址 | 广东省佛山市顺德区杏坛镇东村村 |
专利法律状态
2020-05-22
授权
状态信息
授权
摘要
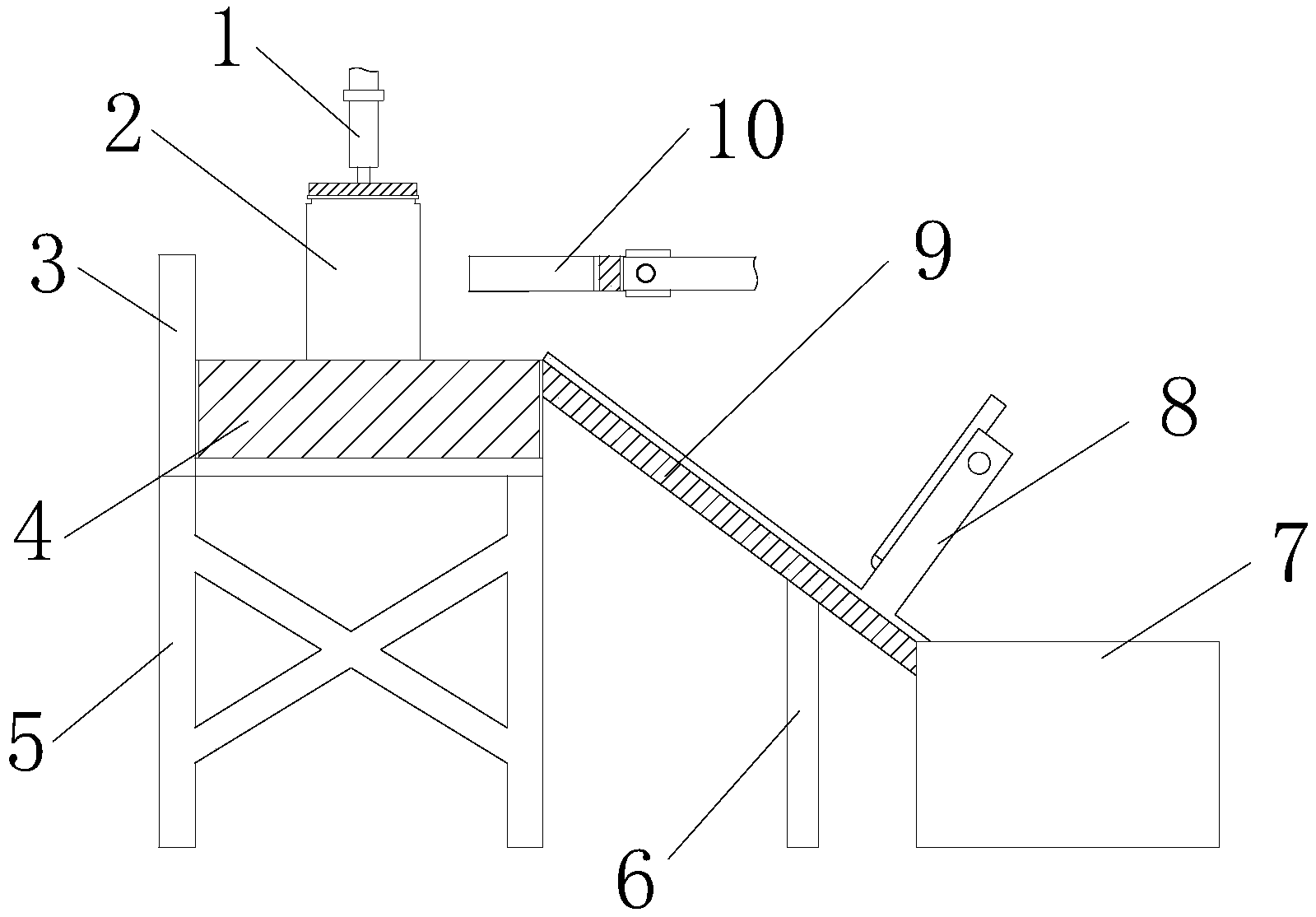
本实用新型公开了一种玉米罐头分拣装置,包括距离传感器、传送带、挡板组件和夹子,所述距离传感器的下方设置有罐头本体,所述罐头本体的下方设置有传送带,所述传送带的下方设置有传送支架,所述传送带的一侧设置有防护板。本实用新型通过设置罐头夹子将罐头从一侧夹起后倾斜放入传送斜坡内传送,不需要将罐头推倒,减少罐头推倒造成的罐头瓶体的损坏和方向偏移,不仅安全性更高,而且罐头分拣时偏移减少,更加稳定;本实用新型通过在挡板的下端设置滚轴,罐体冲击挡板后,挡板打开,通过滚轴加速罐头的下落,保证罐头本体冲击挡板后能够顺利进入收集箱,提高了罐头分拣的效率,并且,结构简单易于操作。


