授权公布号:CN108935610B
一种基于淡水鱼类加工的鱼身切段清洗装置
有效
申请
2018-09-19
申请公布
2018-12-07
授权
2020-08-21
预估到期
2038-09-19
| 申请号 | CN201811091040.6 |
| 申请日 | 2018-09-19 |
| 申请公布号 | CN108935610A |
| 申请公布日 | 2018-12-07 |
| 授权公布号 | CN108935610B |
| 授权公告日 | 2020-08-21 |
| 分类号 | A22C25/18;A22C25/02 |
| 分类 | 屠宰;肉品处理;家禽或鱼的加工; |
| 申请人名称 | 广东甘竹罐头有限公司 |
| 申请人地址 | 广东省佛山市顺德区杏坛镇东村村 |
专利法律状态
2020-08-21
授权
状态信息
授权
2020-08-14
专利申请权、专利权的转移
状态信息
专利申请权的转移;IPC(主分类):A22C 25/18;专利申请号:2018110910406;登记生效日:20200728;变更事项:申请人;变更前权利人:袁福珍;变更后权利人:广东甘竹罐头有限公司;变更事项:地址;变更前权利人:100871 北京市海淀区颐和园路5号北京大学工学院;变更后权利人:528325 广东省佛山市顺德区杏坛镇东村村
2019-01-01
实质审查的生效
状态信息
实质审查的生效;IPC(主分类):A22C 25/18;专利申请号:2018110910406;申请日:20180919
2018-12-07
发明专利申请公布
状态信息
公布
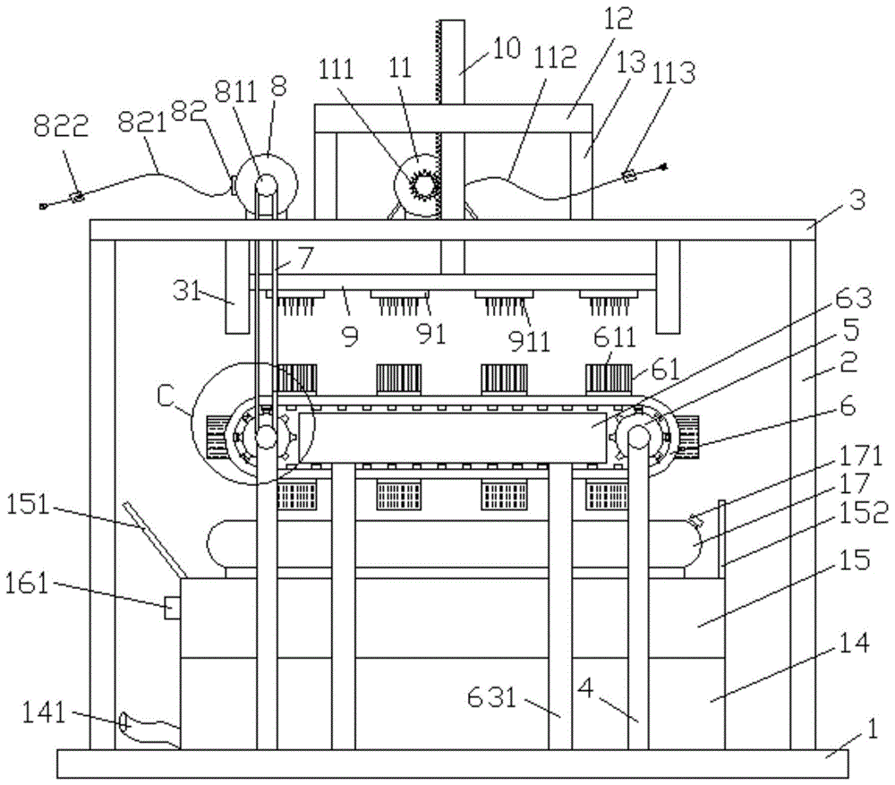
摘要
本发明涉及淡水鱼类加工技术领域,且公开了一种基于淡水鱼类加工的鱼身切段清洗装置,该装置采用机械切割的方式,可以一次对多条鱼身进行切段,并且设有鱼段清洗组件,能够有效解决人工操作效率较低和加工质量难以保证的问题。其结构包括长方体状的底板,底板上设有传动组件;传动组件上方设有切割组件;所述的底板上方传动组件底部焊接有上开口的集液箱;所述的集液箱上端部焊接有与集液箱大小相匹配的第二托盘,所述的第二托盘前后两侧壁上端部焊接有清洗组件。它操作简单,使用方便,适用于多种场所。


