授权公布号:CN213726103U
一种自动恒温的蛋液搅拌装置
有效
申请
2020-08-26
申请公布
1970-01-01
授权
2021-07-20
预估到期
2030-08-26
| 申请号 | CN202021815997.3 |
| 申请日 | 2020-08-26 |
| 授权公布号 | CN213726103U |
| 授权公告日 | 2021-07-20 |
| 分类号 | B01F7/32;B01F15/06 |
| 分类 | 一般的物理或化学的方法或装置; |
| 申请人名称 | 海霸王(汕头)食品有限公司 |
| 申请人地址 | 广东省汕头市金平区北海旁路4号 |
专利法律状态
2021-07-20
授权
状态信息
授权
摘要
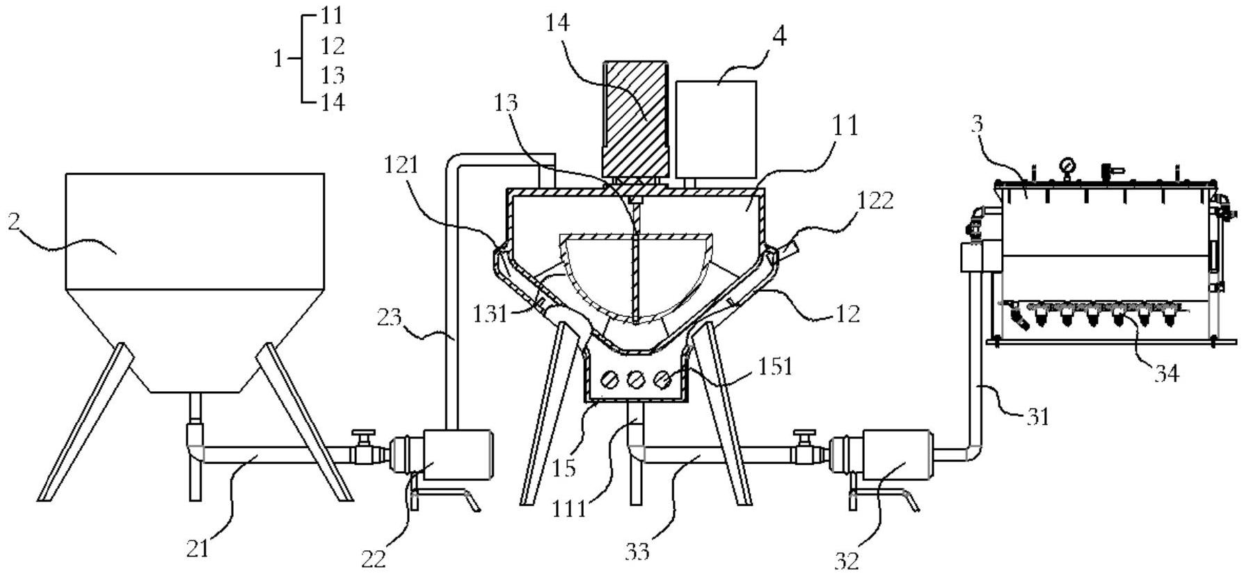
本实用新型公开一种自动恒温的蛋液搅拌装置,包括恒温锅、蛋液桶、注蛋液箱,所述恒温锅包括搅拌室、加热室、搅拌轴、搅拌驱动装置,所述搅拌室的底部呈锥形状,所述加热室罩设在所述搅拌室的底部,所述搅拌室与所述加热室之间形成密闭的导热夹层,所述加热室内设置有对所述导热夹层内的导热介质进行加热的恒温装置,所述加热室顶部外壁上设置有连通所述导热夹层的导油管,所述搅拌室底部穿过所述加热室向外延伸设置有出料管,所述搅拌轴转动设置在所述搅拌室内,由所述搅拌驱动装置驱动所述搅拌轴旋转。通过本实用新型有效控制蛋液温度,提高蛋液的品质,保证成品的成型质量。


