授权公布号:CN215711798U
一种高吸附性能活性炭用上料装置
有效
申请
2021-06-28
申请公布
1970-01-01
授权
2022-02-01
预估到期
2031-06-28
| 申请号 | CN202121443926.X |
| 申请日 | 2021-06-28 |
| 授权公布号 | CN215711798U |
| 授权公告日 | 2022-02-01 |
| 分类号 | C01B32/39 |
| 分类 | 无机化学; |
| 申请人名称 | 福建省鑫森炭业股份有限公司 |
| 申请人地址 | 福建省南平市邵武市城郊工业园区 |
专利法律状态
2022-02-01
授权
状态信息
授权
摘要
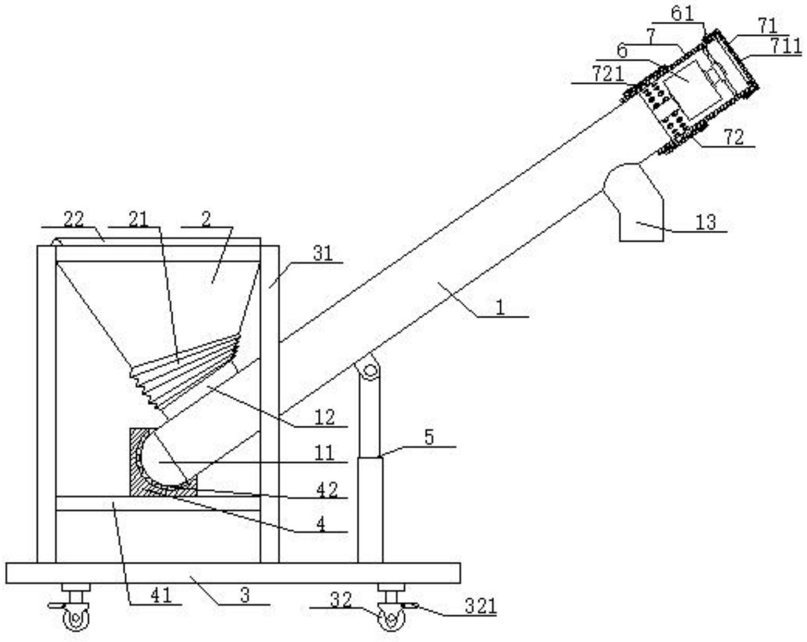
实用新型公开了一种高吸附性能活性炭用上料装置,它涉及活性炭加工技术领域。上料提升管左端固定连接封头,进料口与上方设置的上料仓通过可伸缩通管相连接,所述上料仓通过若干支撑柱固定设置在底座上,所述加强支撑板外侧边缘与支撑柱内侧焊接固定,所述上料提升管的腰部下方铰接固定用于调节上料提升管倾斜角度的电动升降杆,所述上料电机为双轴电机,所述上料电机右侧的输出轴轴体上固定连接抽风扇叶,所述电机罩位于出风孔的外部固定设置第二防尘罩。采用上述技术方案后,本实用新型的有益效果为:在保证上料电机工作环境洁净的同时,提高了电机的散热能力,延长了使用寿命,具有上料提升管倾斜角度可调、方便移动的优点。


