授权公布号:CN214600268U
一种双层筛分机
有效
申请
2020-12-30
申请公布
1970-01-01
授权
2021-11-05
预估到期
2030-12-30
| 申请号 | CN202023330270.9 |
| 申请日 | 2020-12-30 |
| 授权公布号 | CN214600268U |
| 授权公告日 | 2021-11-05 |
| 分类号 | B07B1/28;B07B1/42;B07B1/46 |
| 分类 | 将固体从固体中分离;分选; |
| 申请人名称 | 上海兴长活性炭有限公司 |
| 申请人地址 | 上海市嘉定区江桥镇建华村66号 |
专利法律状态
2021-11-05
授权
状态信息
授权
摘要
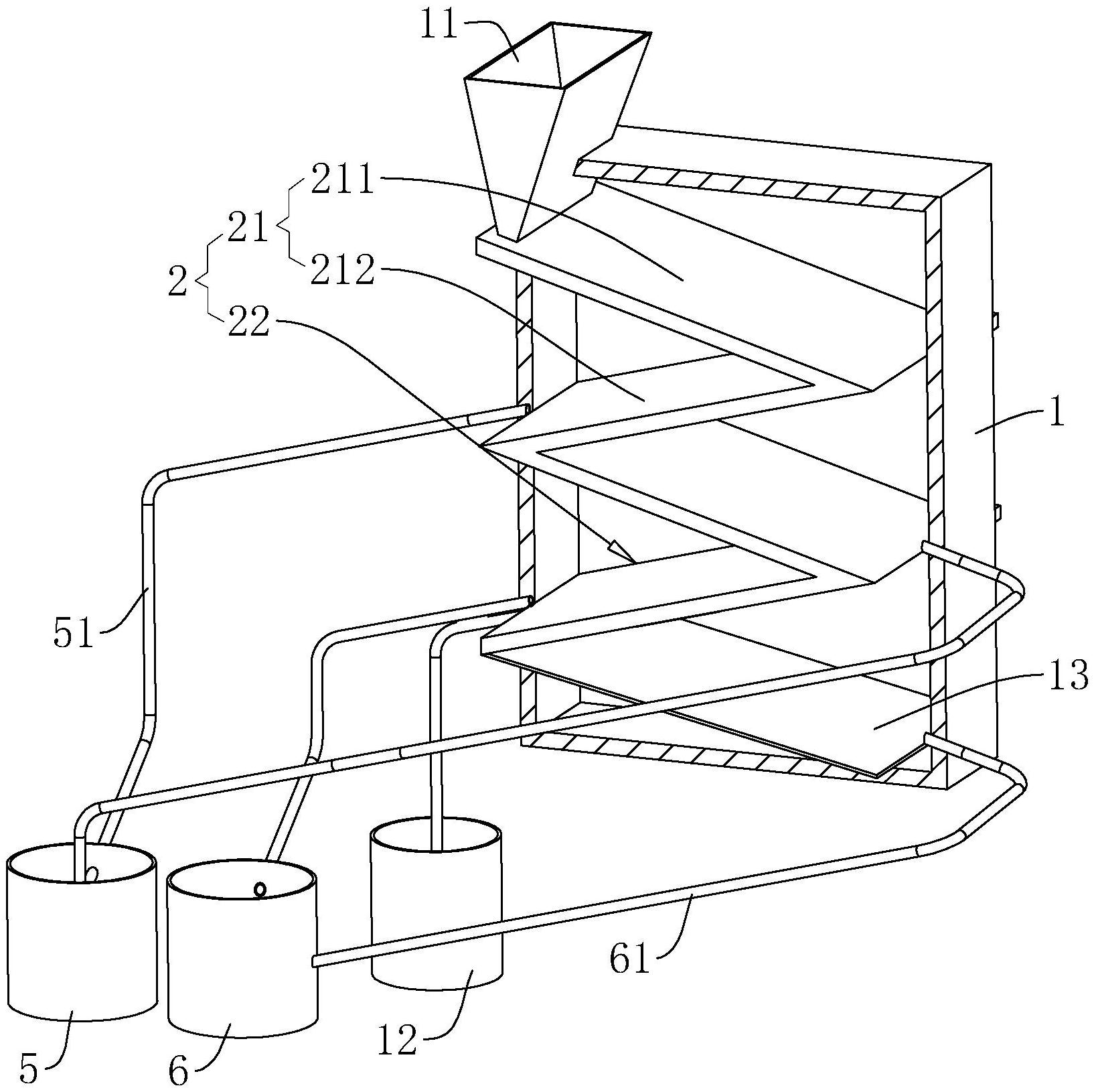
本申请涉及筛分设备的技术领域,尤其是涉及一种双层筛分机,包括过滤箱,在过滤箱上设置有进料斗和收料桶,过滤箱内设置有筛分机构,筛分机构包括筛分组件一和筛分组件二,筛分组件一和筛分组件二连通,筛分组件一和进料斗连通,筛分组件和收料桶连通,筛分组件一靠近地面的一侧设置有过滤网一,筛分组件二靠近地面的一侧设置有过滤网二,过滤网一的过滤孔大于过滤网二的过滤孔,筛分组件一和筛分组件二的结构相同,筛分组件一包括筛板一和筛板二,筛板二和筛分组件二上的筛板一连通,过滤网一在筛板一上滑动设置,过滤箱上设置有用于调节过滤网一位置的调节机构。本申请具有提升筛分效率的效果。


