授权公布号:CN214487272U
一种卧式具有除尘机构的搅拌机
有效
申请
2021-02-07
申请公布
1970-01-01
授权
2021-10-26
预估到期
2031-02-07
| 申请号 | CN202120349447.5 |
| 申请日 | 2021-02-07 |
| 授权公布号 | CN214487272U |
| 授权公告日 | 2021-10-26 |
| 分类号 | B02C19/22;B02C23/18;B08B15/00;B02C23/00 |
| 分类 | 破碎、磨粉或粉碎;谷物碾磨的预处理; |
| 申请人名称 | 上海兴长活性炭有限公司 |
| 申请人地址 | 上海市嘉定区江桥镇建华村66号 |
专利法律状态
2021-10-26
授权
状态信息
授权
摘要
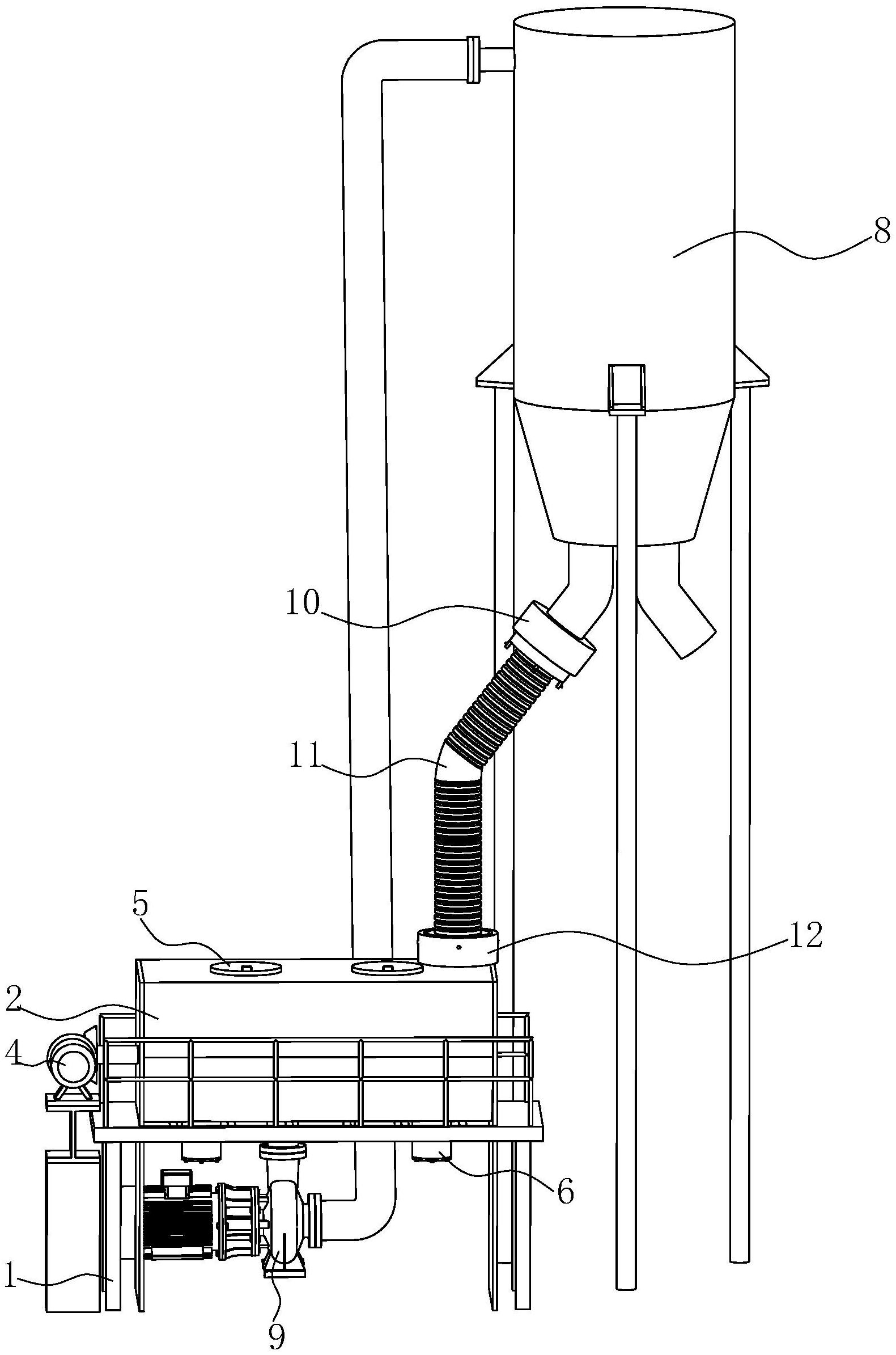
本申请涉及活性炭加工设备技术领域,尤其涉及一种卧式具有除尘机构的搅拌机,其包括机架,所述机架上固定设置有机壳,所述机壳内转动设置有搅拌轴,所述机架上固定设置有驱动搅拌轴转动的驱动件,所述机壳的顶端开设有进料口,所述机壳的底端开设有出料口,所述机壳的顶端固定设置与机壳内部连通的出尘管,所述机架的侧边固定设置有除尘机构,所述除尘机构包括除尘仓和固定设置在除尘仓一侧的真空泵,所述除尘仓的底端螺纹连接有固定环,所述固定环上固定设置有与仓体内部连通的吸尘管,所述吸尘管远离固定环的一端转动连接有固定套管,所述固定套管套设在出尘管上。本申请具有能够对粉碎过程中产生的粉尘进行吸收的效果。


