授权公布号:CN214515182U
一种多途径磨粉进料装置
有效
申请
2021-01-27
申请公布
1970-01-01
授权
2021-10-29
预估到期
2031-01-27
| 申请号 | CN202120234194.7 |
| 申请日 | 2021-01-27 |
| 授权公布号 | CN214515182U |
| 授权公告日 | 2021-10-29 |
| 分类号 | B02C23/02 |
| 分类 | 破碎、磨粉或粉碎;谷物碾磨的预处理; |
| 申请人名称 | 上海兴长活性炭有限公司 |
| 申请人地址 | 上海市嘉定区江桥镇建华村66号 |
专利法律状态
2021-10-29
授权
状态信息
授权
摘要
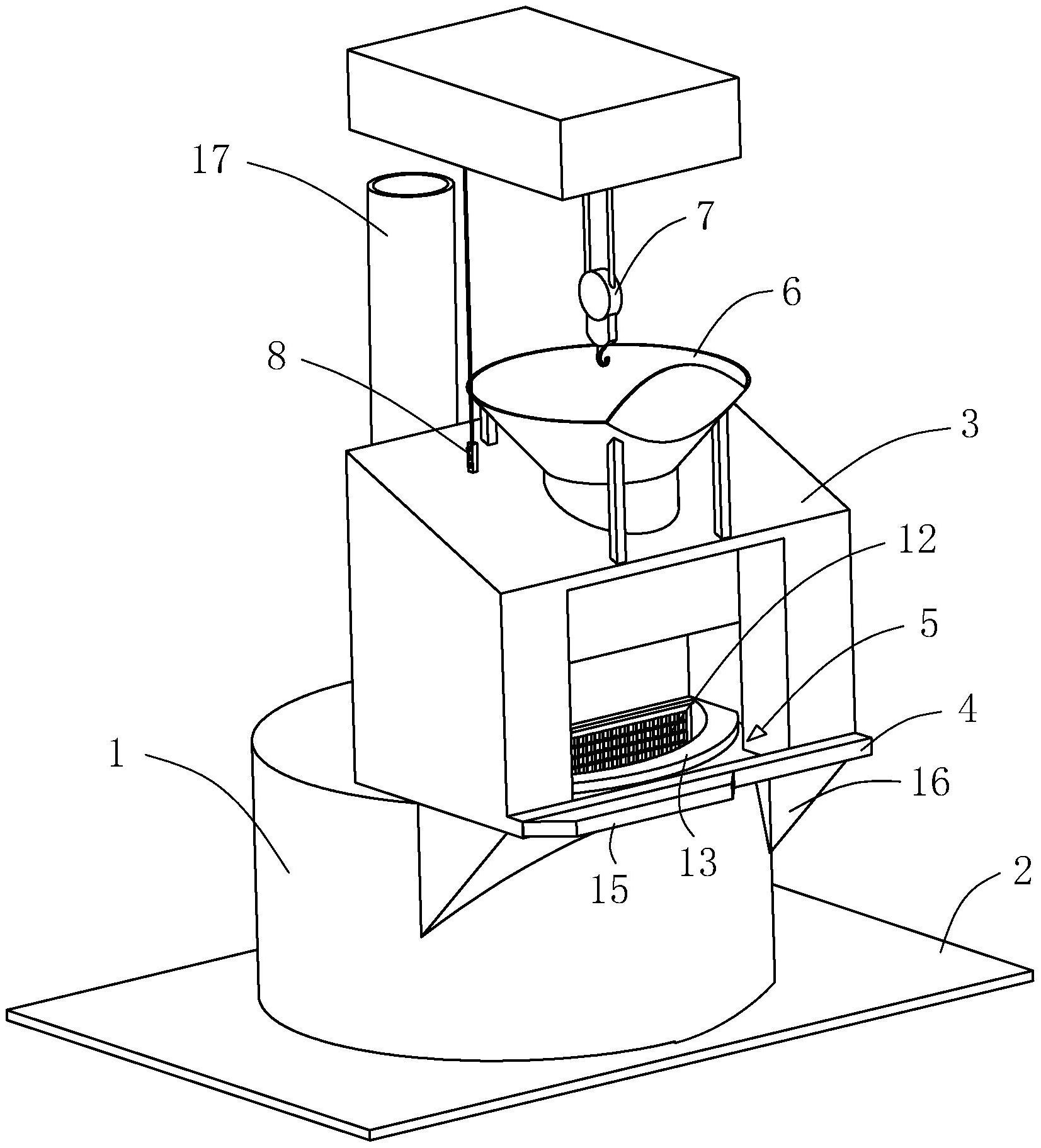
本申请涉及活性炭技术领域,尤其涉及一种多途径磨粉进料装置,其包括料斗,所述料斗的底部固定设置有底板,所述底板下方呈中空设置,所述底板的底部为储料仓,所述料斗的上方固定有房板,所述房板与料斗间固定有挡料横板,所述挡料横板的表面形成有与料斗相通的进料口,所述房板的顶部贯穿设置有下料斗。本申请通过设置下料斗,具有提高操作效率的效果。


