授权公布号:CN216533743U
一种瓜子生产工序的刮平杆
有效
申请
2021-12-29
申请公布
1970-01-01
授权
2022-05-17
预估到期
2031-12-29
| 申请号 | CN202123354849.3 |
| 申请日 | 2021-12-29 |
| 授权公布号 | CN216533743U |
| 授权公告日 | 2022-05-17 |
| 分类号 | A23N12/12 |
| 分类 | 其他类不包含的食品或食料;及其处理; |
| 申请人名称 | 四川徽记食品股份有限公司 |
| 申请人地址 | 四川省成都市金牛区兴川路929号 |
专利法律状态
2022-05-17
授权
状态信息
授权
摘要
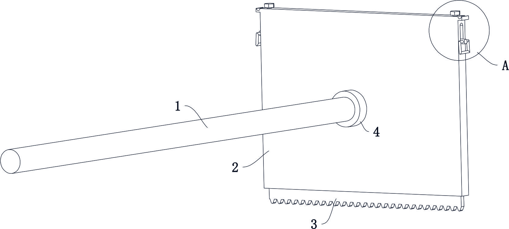
本实用新型公开了一种瓜子生产工序的刮平杆,包括手持杆;第一刮板,其中部活动连接手持杆的端部;和第二刮板,活动设置在第一刮板侧端开口处并在第二刮板的外端侧上设置有刮平齿。该刮平杆在使用的过程中通过第二刮板上的刮平齿能够将瓜子刮平,便于瓜子平铺进行冷却,通过第一刮板能够将瓜子推动至成堆,便于工作人员将瓜子收集起来,在闲置的过程中可将其拆卸后放入指定位置,方便存储还不占用空间。


