授权公布号:CN209838940U
一种燃烧机的燃气调节装置的万向球头连接杆
有效
申请
2019-04-16
申请公布
1970-01-01
授权
2019-12-24
预估到期
2029-04-16
| 申请号 | CN201920513014.1 |
| 申请日 | 2019-04-16 |
| 授权公布号 | CN209838940U |
| 授权公告日 | 2019-12-24 |
| 分类号 | F16C11/06 |
| 分类 | 工程元件或部件;为产生和保持机器或设备的有效运行的一般措施;一般绝热; |
| 申请人名称 | 四川徽记食品股份有限公司 |
| 申请人地址 | 四川省成都市金牛区兴川路929号 |
专利法律状态
2019-12-24
授权
状态信息
授权
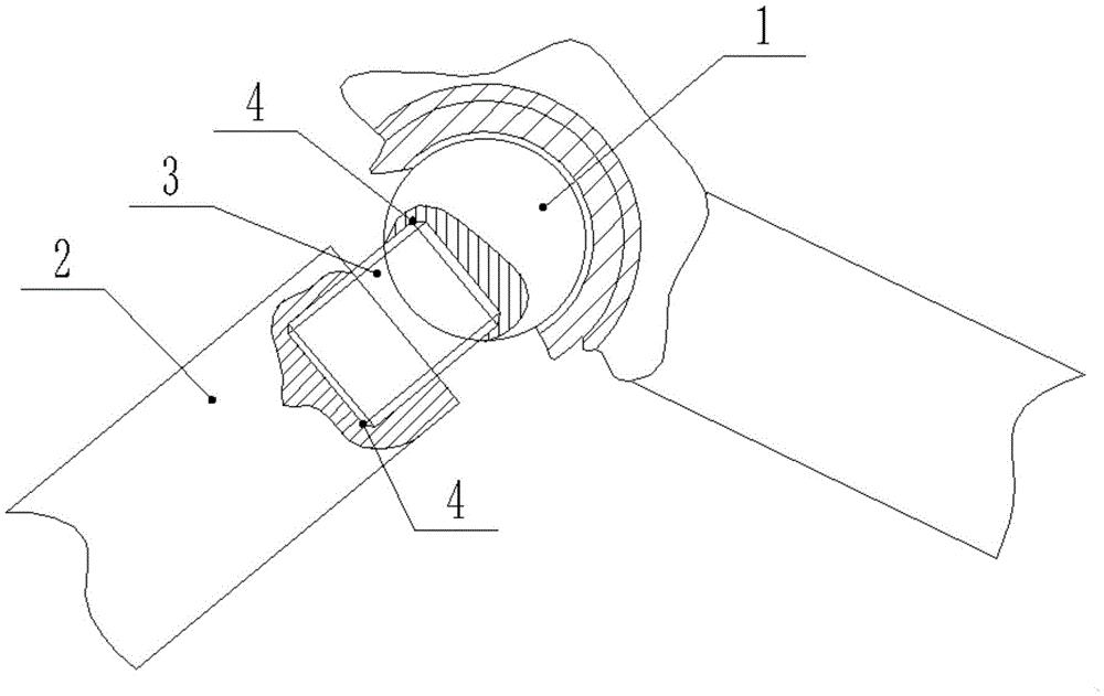
摘要
本实用新型公开了一种燃烧机的燃气调节装置的万向球头连接杆,属于食品生产设备技术领域。解决了现有的燃烧机的燃气调节装置的的球头和连杆采用焊接的方式,在实际使用过程当中,由于燃烧机处于干燥线上部,工作时处于振动和高温(40℃)状态,所以经常发生断裂的情况,造成计算机的控制失灵,发生安全及生产隐患的问题。包括球头和连杆,还包括高强螺杆,高强螺杆的直径比球头以及连杆的直径小,球头和连杆的端面上分别开设有与高强螺杆相配合的螺孔,高强螺杆的一端通过螺孔螺接在球头上,高强螺杆的另一端通过螺孔螺接在连杆上。


