授权公布号:CN112369565B
用于豆瓣酱生产线的烫瓣连续振动装置
有效
申请
2020-11-26
申请公布
2021-02-19
授权
2023-09-26
预估到期
2040-11-26
| 申请号 | CN202011347408.8 |
| 申请日 | 2020-11-26 |
| 申请公布号 | CN112369565A |
| 申请公布日 | 2021-02-19 |
| 授权公布号 | CN112369565B |
| 授权公告日 | 2023-09-26 |
| 分类号 | B07B1/22;B07B1/42;B07B1/46;A23L11/00;A23L11/50;A23L5/10;A23L5/30 |
| 分类 | 其他类不包含的食品或食料;及其处理; |
| 申请人名称 | 四川省丹丹郫县豆瓣集团股份有限公司 |
| 申请人地址 | 四川省成都市郫都区安德镇中国川菜产业化园区永安路38号 |
专利法律状态
2023-09-26
授权
状态信息
授权
2021-03-09
实质审查的生效
状态信息
实质审查的生效;IPC(主分类):A23L11/00;申请日:20201126
2021-02-19
公布
状态信息
公布
摘要
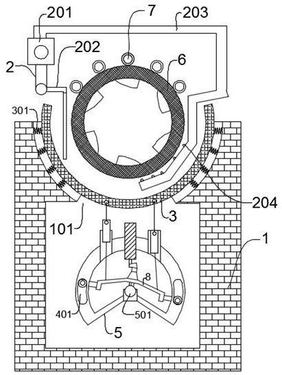
本发明公开了一种用于豆瓣酱生产线的烫瓣连续振动装置,包括机架,上述机架上方设有弧形槽,上述弧形槽上装有振动容器,上述机架下部设有推拉装置,上述弧形槽与振动容器之间设有复位弹簧,上述推拉装置通过拉杆连接振动容器下端;上述振动容器上端设有烫瓣筒,上述烫瓣筒置于振动容器上方,上述烫瓣筒一侧设有驱动轮,由驱动轮带动烫瓣筒持续转动;上述机架一侧设有管路装置,由管路装置将振动容器中的液体喷洒到烫瓣筒中,以期望优化豆瓣生产线在进行烫瓣工艺时,存在一定的原料损失的情况,且生产线本身不易进行实验的和测试的问题。


