授权公布号:CN220442411U
一种带有活动式吸嘴的杯盖结构
有效
申请
2023-07-06
申请公布
1970-01-01
授权
2024-02-06
预估到期
2033-07-06
| 申请号 | CN202321758496.X |
| 申请日 | 2023-07-06 |
| 授权公布号 | CN220442411U |
| 授权公告日 | 2024-02-06 |
| 分类号 | A47G19/22;A47G21/18;A45F3/16 |
| 分类 | 家具;家庭用的物品或设备;咖啡磨;香料磨;一般吸尘器; |
| 申请人名称 | 安徽省富光实业股份有限公司 |
| 申请人地址 | 安徽省合肥市肥西县三河镇北街169号 |
专利法律状态
2024-02-06
授权
状态信息
授权
摘要
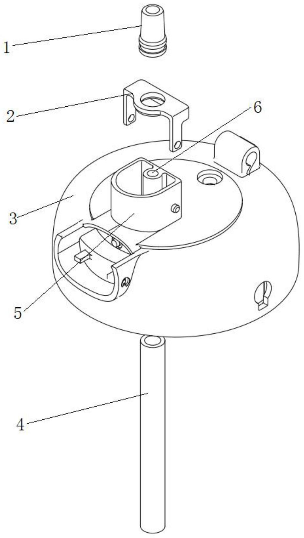
本实用新型适用于杯盖结构技术领域,提供了一种带有活动式吸嘴的杯盖结构,包括:连接体,所述连接体上设有直饮口;吸管,与所述连接体相连接,与所述直饮口相对应;活动式吸嘴,与所述直饮口活动连接,通过调整活动式吸嘴与直饮口的位置转换饮水方式。本实用新型设置有活动式吸嘴,并与直饮口相连接,当活动式吸嘴转动至竖直状态,即可与连接体底部的吸管相连接,即可实现吸饮,当活动式吸嘴转动至水平状态时,即可利用直饮口进行直饮,活动式吸嘴不会造成阻挡,结构简单,同时吸嘴收纳方便结构简单,同时吸嘴收纳方便。


