授权公布号:CN114380262B
一种豆瓣酱加工用防漏灌装设备
有效
申请
2022-02-09
申请公布
2022-04-22
授权
2023-05-26
预估到期
2042-02-09
| 申请号 | CN202210120369.0 |
| 申请日 | 2022-02-09 |
| 申请公布号 | CN114380262A |
| 申请公布日 | 2022-04-22 |
| 授权公布号 | CN114380262B |
| 授权公告日 | 2023-05-26 |
| 分类号 | B67C3/02;B67C3/26;B67C3/22 |
| 分类 | 开启或封闭瓶子、罐或类似的容器;液体的贮运; |
| 申请人名称 | 四川省郫县豆瓣股份有限公司 |
| 申请人地址 | 四川省成都市郫都区中国川菜产业园区永安路333号 |
专利法律状态
2023-05-26
授权
状态信息
授权
2022-04-22
公布
状态信息
公布
摘要
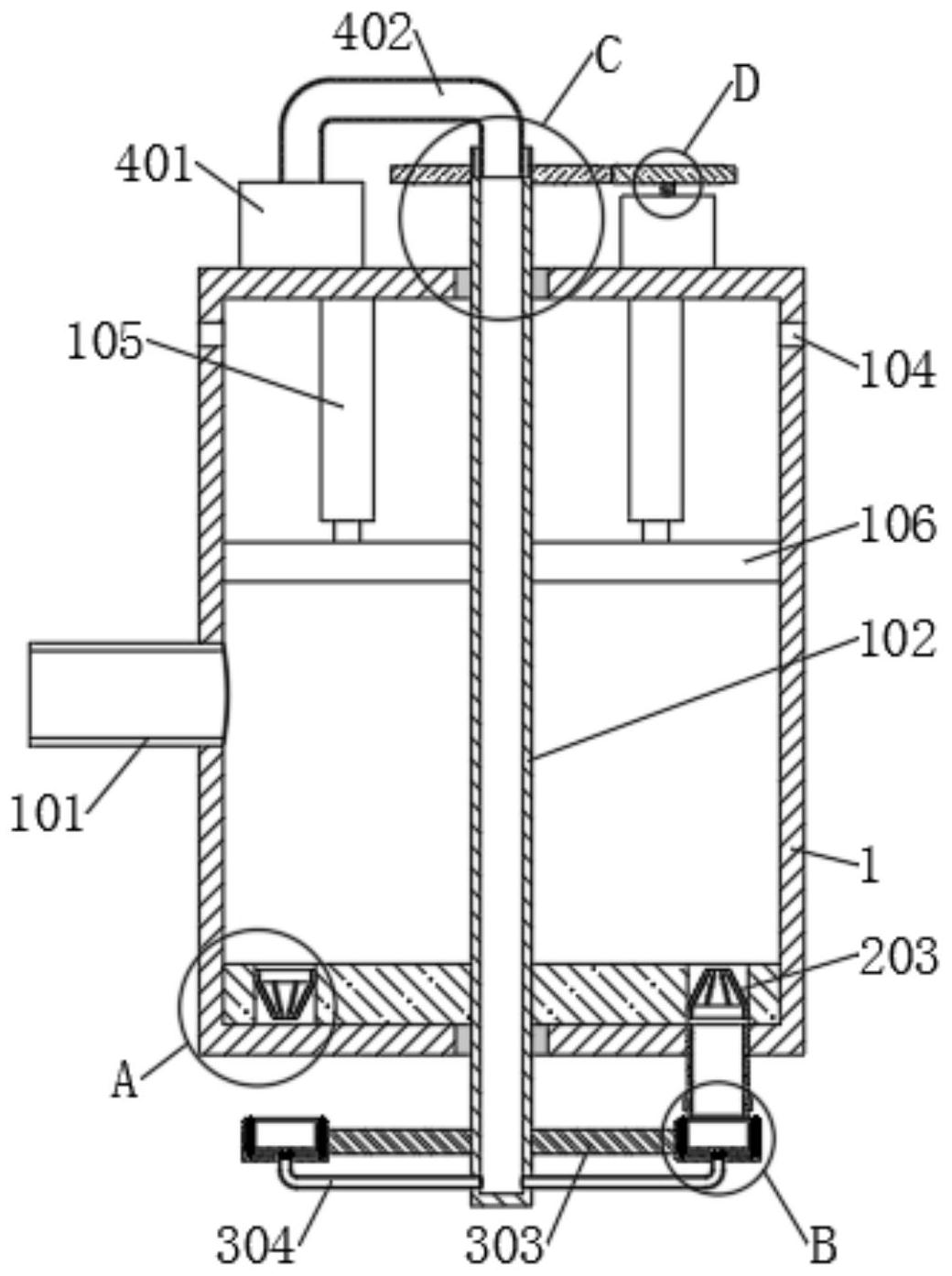
本发明公开了一种豆瓣酱加工用防漏灌装设备,包括:灌装筒、出料机构、防滴漏机构和驱动机构;灌装筒上设有进料管,灌装筒上插设有主驱动管;出料机构安装于主驱动管上,出料机构包括旋转控制板,旋转控制板上开凿有一对出料槽,一对出料槽内均安装有出料方向控制块;防滴漏机构设于灌装筒的下方,防滴漏机构包括一对防滴漏框,防滴漏框内滑动连接有升降遮挡环;驱动机构设于灌装筒的上方,驱动机构用于带动主驱动管旋转和向主驱动管内通入气体。本发明通过对豆瓣酱灌装设备相应机构的设置,避免了豆瓣酱灌装过程中出现滴漏的情况,从而使豆瓣酱不会掉落到灌装瓶上,进而能够提高豆瓣酱的生产效率。


