授权公布号:CN216178073U
一种打点修模机联轴支撑结构
有效
申请
2021-09-18
申请公布
1970-01-01
授权
2022-04-05
预估到期
2031-09-18
| 申请号 | CN202122299838.3 |
| 申请日 | 2021-09-18 |
| 授权公布号 | CN216178073U |
| 授权公告日 | 2022-04-05 |
| 分类号 | B23P6/00;B22D13/10;B22D13/02;C21D7/04 |
| 分类 | 机床;不包含在其他类目中的金属加工; |
| 申请人名称 | 四川省川建管道有限公司 |
| 申请人地址 | 四川省成都市崇州市元通镇禹五村16组 |
专利法律状态
2022-04-05
授权
状态信息
授权
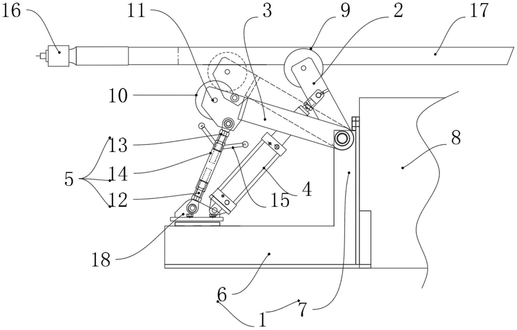
摘要
实用新型公开了一种打点修模机联轴支撑结构,包括底座、第一支架、第二支架、驱动组件和微调组件,其中,底座包括水平部和竖直部,水平部与竖直部连接后整体呈L型结构,底座的竖直部用于与打点修模机连接;第一支架位于第二支架的内侧且均铰接在竖直部上,第一支架上设置有第一支撑滚轮,第二支架上设置有第二支撑滚轮,微调组件一端与第二支架铰接,另一端与所述水平部铰接;驱动组件一端与第一支架铰接,另一端与所述水平部铰接。本实用新型主要用于安装在打点修模机的端部,联轴进出管模的时候能够实现对联轴高度的调节。


