授权公布号:CN212945393U
一种移箱轨道组件
有效
申请
2020-07-16
申请公布
1970-01-01
授权
2021-04-13
预估到期
2030-07-16
| 申请号 | CN202021403449.X |
| 申请日 | 2020-07-16 |
| 授权公布号 | CN212945393U |
| 授权公告日 | 2021-04-13 |
| 分类号 | B22D33/02 |
| 分类 | 铸造;粉末冶金; |
| 申请人名称 | 四川省川建管道有限公司 |
| 申请人地址 | 四川省成都市崇州市元通镇禹五村16组 |
专利法律状态
2021-04-13
授权
状态信息
授权
摘要
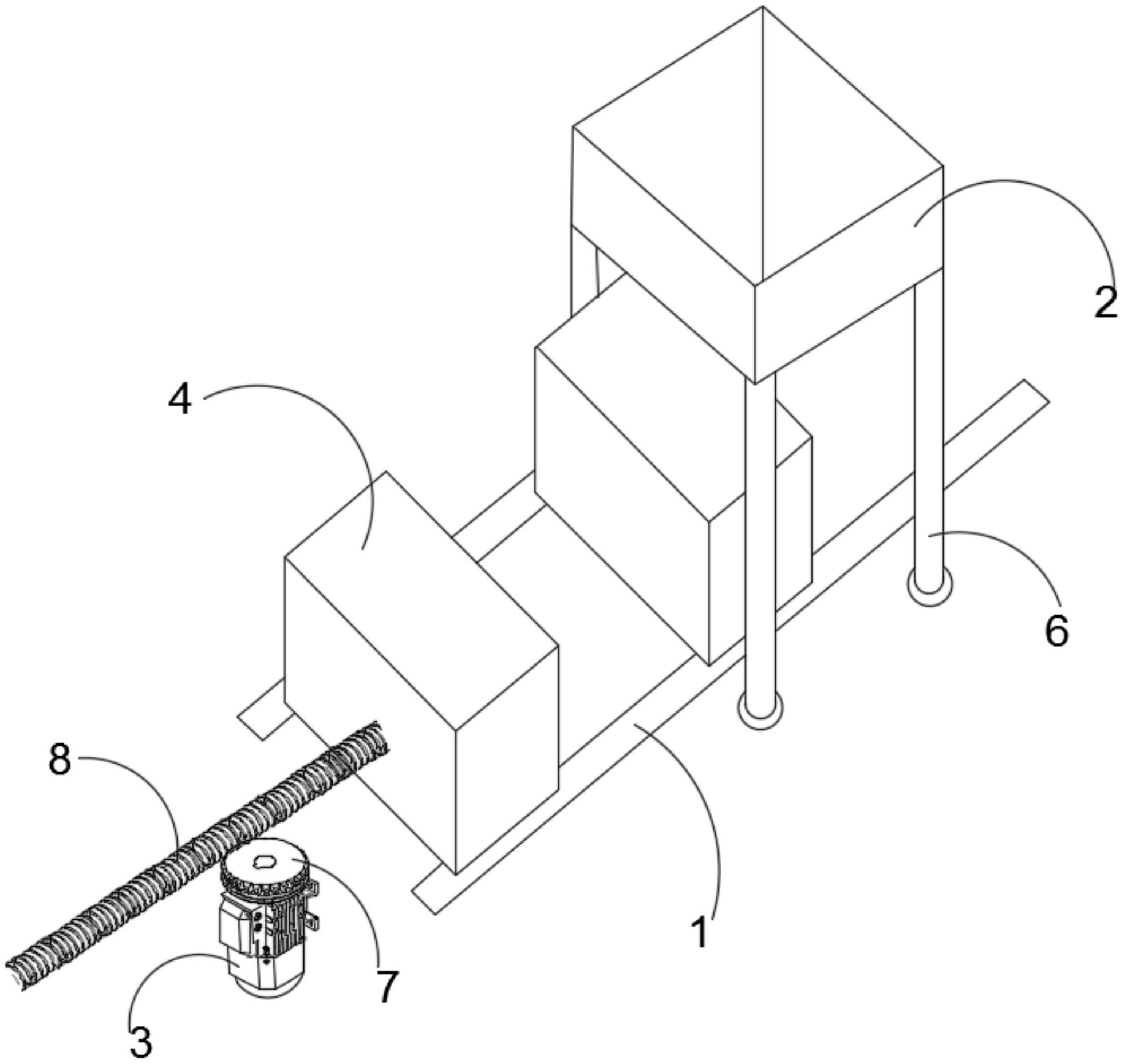
本实用新型提供一种移箱轨道组件,包括轨道、落砂装置和驱动电机,所述轨道设置有沿所述轨道运行的砂箱和带动所述砂箱滑动的滑块,所述落砂装置设置有支撑所述落砂装置的支架,所述驱动电机设置有与所述驱动电机同轴转动的蜗轮和能够推动所述砂箱前进的蜗杆,所述蜗杆与所述蜗轮啮合连接,所述滑块设置有限制所述砂箱位移的直角板,所述砂箱下部的四个角分别与所述滑块连接,所述直角板贴合所述砂箱下部的角的两个侧面。本实用新型解决了目前在消失模铸造过程中的运送砂箱过程常常需要人工操作转运,转运效率很低的问题。


