授权公布号:CN218604880U
一种置物框
有效
申请
2022-11-23
申请公布
1970-01-01
授权
2023-03-14
预估到期
2032-11-23
| 申请号 | CN202223113657.8 |
| 申请日 | 2022-11-23 |
| 授权公布号 | CN218604880U |
| 授权公告日 | 2023-03-14 |
| 分类号 | A23B4/005 |
| 分类 | 其他类不包含的食品或食料;及其处理; |
| 申请人名称 | 四川张飞牛肉有限公司 |
| 申请人地址 | 四川省南充市阆中市七里开发区张公桥 |
专利法律状态
2023-03-14
授权
状态信息
授权
摘要
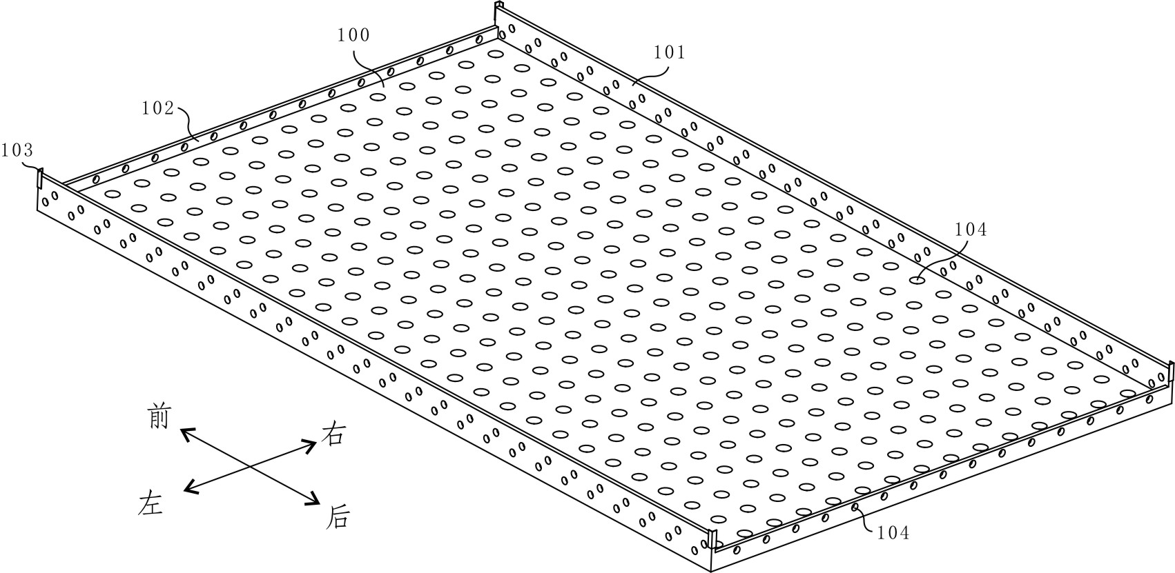
本实用新型公开了一种置物框,至少包括一个置物盘,所述置物盘包括板体,所述板体的四周设置有围板,并且前后两侧的围板高度低于左右两侧的围板高度;所述板体和围板均开设有若干通孔;在左右两侧的所述围板上端面形成堆叠面;本实用新型设计合理,结构简单,使用方便,用于与杀菌釜匹配,实现对充氮牛肉包装进行放置,以便于充氮牛肉包装在杀菌釜中能够全方位的与水蒸气接触,提高杀菌效果;通过该置物框与杀菌釜配合,采用水蒸气杀菌后,充氮牛肉包装的包装形态不会发生变化,口感也得到最大限度的保持。


