授权公布号:CN210586918U
一种滚花螺栓加工装置
有效
申请
2019-06-12
申请公布
1970-01-01
授权
2020-05-22
预估到期
2029-06-12
| 申请号 | CN201920878649.1 |
| 申请日 | 2019-06-12 |
| 授权公布号 | CN210586918U |
| 授权公告日 | 2020-05-22 |
| 分类号 | B21H3/06;B21H9/02 |
| 分类 | 基本上无切削的金属机械加工;金属冲压; |
| 申请人名称 | 常熟市标准件厂有限公司 |
| 申请人地址 | 江苏省苏州市常熟市梅李镇通港路358号 |
专利法律状态
2020-05-22
授权
状态信息
授权
摘要
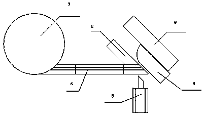
本实用新型公开了一种滚花螺栓加工装置,所述滚花螺栓加工装置包括:螺栓送料机构和滚花装置;所述螺栓送料机构包括螺栓振动盘和导向滑轨,所述导向滑轨一端连接振动盘的出口,一端连接顶杆机构和碾齿机构,所述顶杆机构的顶出杆的顶出面与导向滑轨末端夹角为30°~60°,所述顶出杆的顶出位置距离导向滑轨末端的距离为螺栓直径的1.2~1.5倍,所述碾齿机构包括一块固定的静碾块和一块可以往复运动的动碾块,所述动碾块和静碾块上设置有于螺栓滚花长度相合的碾齿带。通过上述方式,本实用新型能够实现加工过程速度快、效率高,滚花精度好,设备使用寿命长的目标,而且可以利用现有的搓丝设备进行改装,成本低廉,具有很高的实用性。


