授权公布号:CN214978219U
冷镦机切边工装
有效
申请
2021-06-28
申请公布
1970-01-01
授权
2021-12-03
预估到期
2031-06-28
| 申请号 | CN202121437486.7 |
| 申请日 | 2021-06-28 |
| 授权公布号 | CN214978219U |
| 授权公告日 | 2021-12-03 |
| 分类号 | B23D79/00;B23Q5/26;B23Q7/06 |
| 分类 | 机床;不包含在其他类目中的金属加工; |
| 申请人名称 | 常熟市标准件厂有限公司 |
| 申请人地址 | 江苏省苏州市常熟市通港路358号 |
专利法律状态
2021-12-03
授权
状态信息
授权
摘要
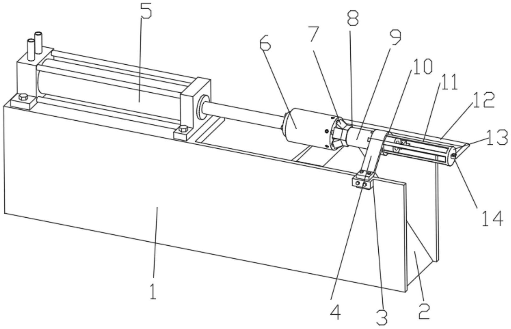
本实用新型公开了一种冷镦机切边工装,涉及螺栓生产设备技术领域,包括支撑架和螺栓六角头,所述支撑架的内壁连接有用于分料的分料结构,所述支撑架在分料结构的顶部处连接有用于毛刺切除的切除结构,所述切除结构设有下料结构,所述下料结构用于螺栓六角头下料和螺栓六角头上切除的毛刺下料,通过上述方式,本实用新型将螺栓六角头插在切结结构的切刀内,气缸推动推动柱移动,推动柱推动螺栓六角头插在支撑筒内,推动柱继续移动带动切刀对螺栓六角头上的毛刺进行切除,螺栓六角头的六角螺母在六边形槽内活动,方便将螺栓六角头上的毛刺进行清除,无需人工进行除毛刺,省时省力。


