授权公布号:CN214166751U
一种纸板输送装置
有效
申请
2020-12-29
申请公布
1970-01-01
授权
2021-09-10
预估到期
2030-12-29
| 申请号 | CN202023280504.3 |
| 申请日 | 2020-12-29 |
| 授权公布号 | CN214166751U |
| 授权公告日 | 2021-09-10 |
| 分类号 | B65H5/22;B65H5/36;B65G23/44 |
| 分类 | 输送;包装;贮存;搬运薄的或细丝状材料; |
| 申请人名称 | 扬州伟鹏机械有限公司 |
| 申请人地址 | 江苏省扬州市仪征市马集镇八里工业集中区 |
专利法律状态
2021-09-10
授权
状态信息
授权
摘要
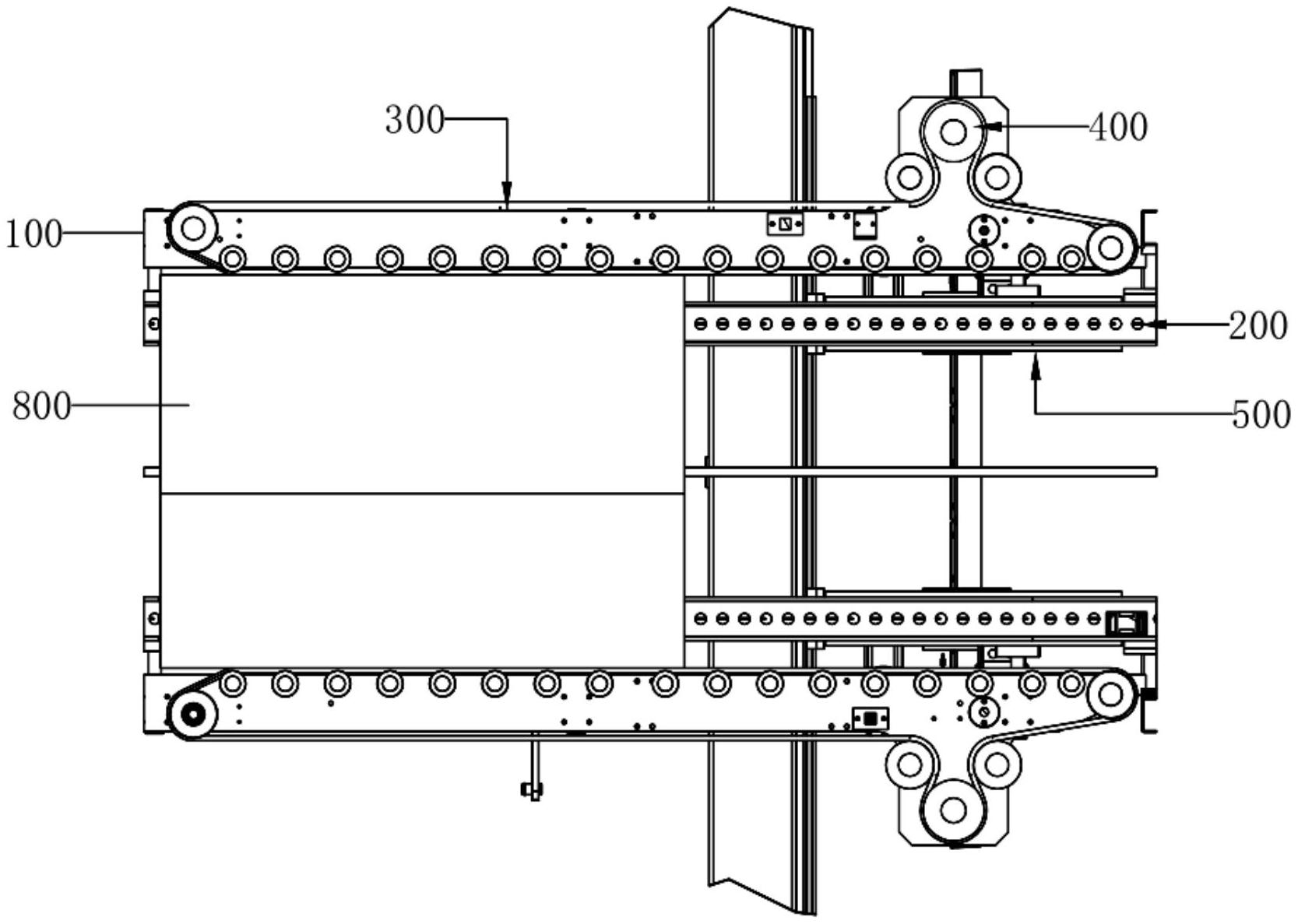
本实用新型涉及一种纸板输送装置,属于纸板加工设备技术领域,其技术方案包括机架,设置在所述机架上且对纸板水平运输的水平传送组件,在所述机架上且位于所述水平传送组件传送方向的两侧设置有辅助传动组件,所述辅助传动组件包括设置于机架上且位于所述传送方向两侧的若干传动辊,位于所述传动辊上的辅助传送带,所述辅助传送带由两侧夹持所述水平传送组件上侧的纸板;在所述机架上设置有带动所述辅助传送带运动的驱动组件。通过采用上述技术方案,在对纸板进行传送过程中,由传送方向两侧与水平传送组件协同传送,纸板的底部和两侧受力方向相同,进而保证了纸板的完好程度。


