授权公布号:CN214562339U
一种用于尼龙拉链成型的润滑装置
有效
申请
2020-12-03
申请公布
1970-01-01
授权
2021-11-02
预估到期
2030-12-03
| 申请号 | CN202022869191.9 |
| 申请日 | 2020-12-03 |
| 授权公布号 | CN214562339U |
| 授权公告日 | 2021-11-02 |
| 分类号 | B29C37/00;B29L15/00N |
| 分类 | 塑料的加工;一般处于塑性状态物质的加工; |
| 申请人名称 | 江苏汇源拉链制造有限公司 |
| 申请人地址 | 江苏省苏州市常熟市古里镇白茆工业集中区 |
专利法律状态
2021-11-02
授权
状态信息
授权
摘要
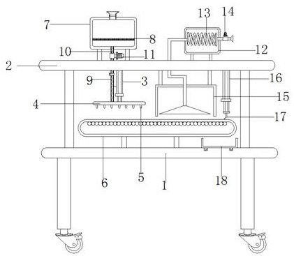
本实用新型公开了一种用于尼龙拉链成型的润滑装置,包括底板,底板顶部外壁四周均焊接有支撑杆,支撑杆顶部焊接有顶板,顶板底部外壁焊接有推杆电机,推杆电机末端焊接有储存管,储存管底部设置有等距离分布的雾化喷头,底板顶部外壁焊接有传送带,传送带位于雾化喷头下方,顶板顶部焊接有加热箱,加热箱内壁焊接有电热网,加热箱底部设置有贯穿顶板的输油管,输油管内壁焊接有电热丝。本实用新型中,加热箱中的电热网使蜡油加热熔化,形成油液,电热丝保持油液流动性,防止油液凝固,雾化喷头将油液均匀地喷涂在拉链上,延长拉链使用寿命,螺纹管增大空气与冷凝剂接触面积,低温空气对拉链进行降温,使蜡油附着在拉链上。


