授权公布号:CN214556911U
一种金属拉链冲齿机用工件固定装置
有效
申请
2021-01-14
申请公布
1970-01-01
授权
2021-11-02
预估到期
2031-01-14
| 申请号 | CN202120096874.7 |
| 申请日 | 2021-01-14 |
| 授权公布号 | CN214556911U |
| 授权公告日 | 2021-11-02 |
| 分类号 | B21D53/52;B21D28/04 |
| 分类 | 基本上无切削的金属机械加工;金属冲压; |
| 申请人名称 | 江苏汇源拉链制造有限公司 |
| 申请人地址 | 江苏省苏州市常熟市古里镇白茆工业集中区 |
专利法律状态
2021-11-02
授权
状态信息
授权
摘要
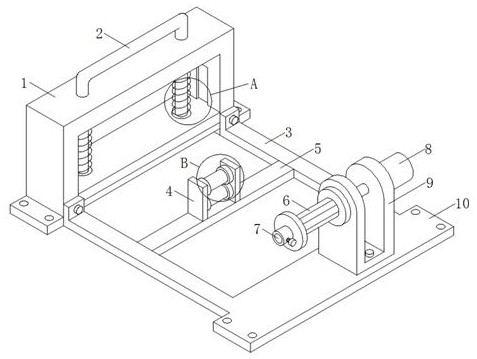
本实用新型公开了一种金属拉链冲齿机用工件固定装置,包括支架、把手、压板和底板,所述支架的顶端开设有两个供倒U形的把手穿过的通孔,所述把手的底端贯穿两个弹簧并与压板连接,所述压板的底端固定有防滑垫;所述底板朝向支架的一侧一体成型有两个连板,两个所述连板均与支架连接,两个所述连板之间固定有支板,所述支板的顶端固定有两个竖板,两个所述竖板之间设有两个导向辊;所述底板的顶端固定有U形的底座,所述底座的一侧固定有电机,所述电机的输出轴通过联轴器与横杆的一端连接,所述横杆的另一端贯穿固定在底座另一侧的轴承和圆筒。该金属拉链冲齿机用工件固定装置,方便金属拉链的固定,节省了人力。


