授权公布号:CN216206713U
一种防倒流水表
有效
申请
2021-10-18
申请公布
1970-01-01
授权
2022-04-05
预估到期
2031-10-18
| 申请号 | CN202122497321.5 |
| 申请日 | 2021-10-18 |
| 授权公布号 | CN216206713U |
| 授权公告日 | 2022-04-05 |
| 分类号 | G01F15/00 |
| 分类 | 测量;测试; |
| 申请人名称 | 苏州自来水表业有限公司 |
| 申请人地址 | 江苏省苏州市东环南路2号 |
专利法律状态
2022-04-05
授权
状态信息
授权
摘要
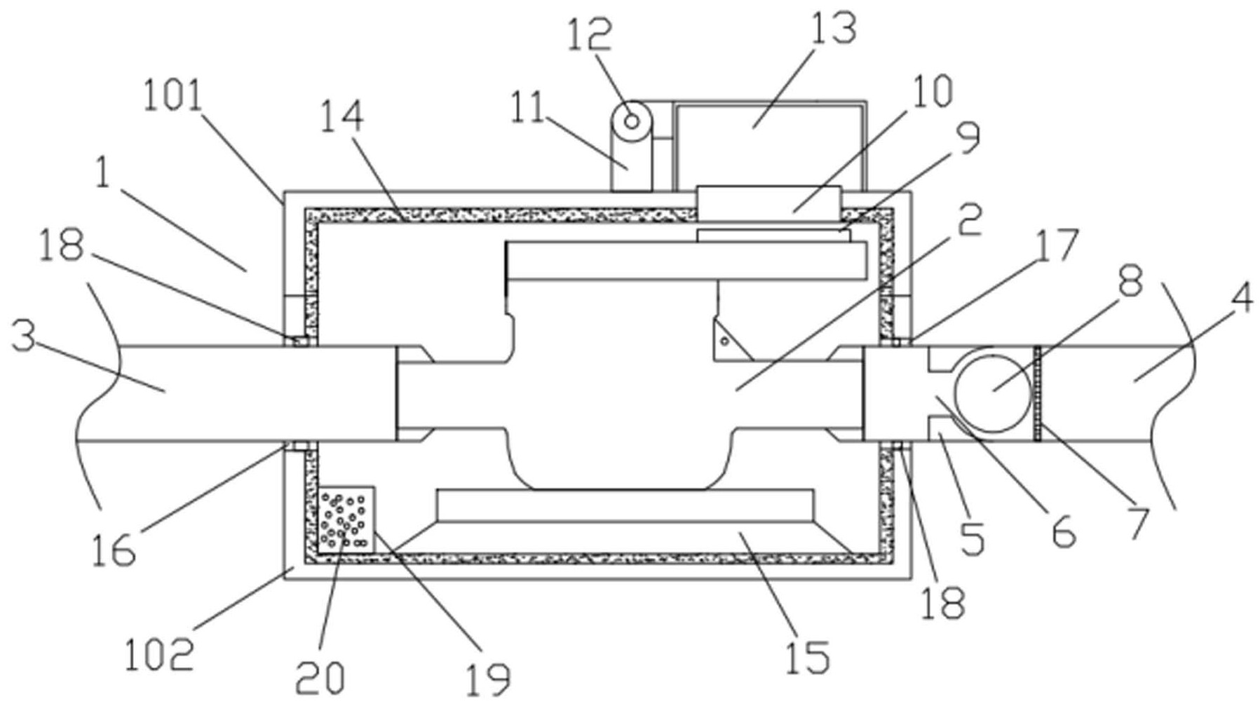
本实用新型公开了一种防倒流水表,包括:外壳以及设置在外壳内部的水表本体,所述水表本体一侧连接有进水管,另一侧连接有出水管,所述出水管内部固定连接有弧形挡块,所述弧形挡块上开设有圆孔,所述出水管内部还固定设置有隔板,所述隔板上开设有多个通孔,所述隔板与弧形挡块之间设置有止回球,所述圆孔与止回球相对应,且止回球的直径大于圆孔的孔径,所述外壳内壁设置有保温层。通过上述方式,本实用新型提供的防倒流水表,当水流出现回流时,止回球在水流作用下与弧形挡块的圆孔紧贴,从而把圆孔堵住,防止水倒流到水表内。


