授权公布号:CN206540583U
可拆式远传水表
有效
申请
2016-10-10
申请公布
1970-01-01
授权
2017-10-03
预估到期
2026-10-10
| 申请号 | CN201621106635.0 |
| 申请日 | 2016-10-10 |
| 授权公布号 | CN206540583U |
| 授权公告日 | 2017-10-03 |
| 分类号 | G01F15/14;G01F15/00 |
| 分类 | 测量;测试; |
| 申请人名称 | 苏州自来水表业有限公司 |
| 申请人地址 | 江苏省苏州市东环南路2号 |
专利法律状态
2017-10-03
授权
状态信息
授权
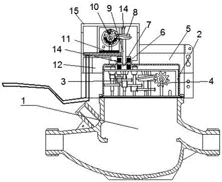
摘要
本实用新型揭示了一种盒体加装在水表基表的上方,光电计数机构安装装于盒体腔内,使光电计数机构和机械计数机构完全分离的可拆式远传水表,其包括:水表基表1、指示装置2、基表夹圈5、下部磁耦合装置6、传动机构9、光电计数机构10、光电模块11、盒体12、盒盖15、密封圈16。所述指示装置包括机械计数机构4、机械指针机构3;所述传动机构包括蜗轮蜗杆8、上部磁耦合装置7;以上设计解决了传统湿式光电直读水表受到高强度水压的冲击导致光电模块使用寿命较短的问题。本实用新型适用于远传抄收系统,且具有安装便捷、计量精准、读数可靠等特点。


