授权公布号:CN204612773U
一种用于无线远传水表传感器的定位装置
有效
申请
2015-04-27
申请公布
1970-01-01
授权
2015-09-02
预估到期
2025-04-27
| 申请号 | CN201520258172.9 |
| 申请日 | 2015-04-27 |
| 授权公布号 | CN204612773U |
| 授权公告日 | 2015-09-02 |
| 分类号 | G01F15/00;G01F25/00 |
| 分类 | 测量;测试; |
| 申请人名称 | 苏州自来水表业有限公司 |
| 申请人地址 | 江苏省苏州市东环南路2号 |
专利法律状态
2015-09-02
授权
状态信息
授权
摘要
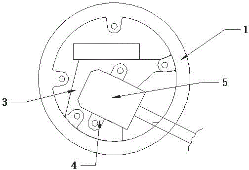
本实用新型公开了一种用于无线远传水表传感器的定位装置,包括:固定盘装置、连接盘装置、校准装置,所述固定盘装置包括固定盘和硅胶垫圈,所述连接盘装置包括连接盘和传感器连接支架,所述校准装置包括校准盘、校准扳手和信号检验仪。通过上述方式,本实用新型用于无线远传水表传感器的定位,第一、定位装置适用性强,能完成不同类型传感器在无线远传水表基表上的准确定位,减少多种模具产生的费用,大幅度降低生产成本费用,提高生产的效率及经济效益;第二、操作简便易学,能够简捷的拆卸和安装传感器,方便水表基表的检定工作及传感器日后维护工作;第三、定位精确,大幅度增加水表读数准确性,减少读数纠纷,方便用户;第四、无线远传水表传感器的定位装置在国内尚属首创,技术应用上处于领先的地位。


