授权公布号:CN204137852U
用于瓶盖收集的装置
有效
申请
2014-09-09
申请公布
1970-01-01
授权
2015-02-04
预估到期
2024-09-09
| 申请号 | CN201420514851.3 |
| 申请日 | 2014-09-09 |
| 授权公布号 | CN204137852U |
| 授权公告日 | 2015-02-04 |
| 分类号 | B65G47/24;B65G15/30;B65G21/20 |
| 分类 | 输送;包装;贮存;搬运薄的或细丝状材料; |
| 申请人名称 | 如意情生物科技股份有限公司 |
| 申请人地址 | 湖北省武汉市东西湖区食品加工区汇通大道特1号(13) |
专利法律状态
2016-05-11
专利权人的姓名或者名称、地址的变更
状态信息
专利权人的姓名或者名称、地址的变更;IPC(主分类):B65G47/24;变更事项:专利权人;变更前:武汉如意食用菌生物高科技有限公司;变更后:如意情生物科技股份有限公司;变更事项:地址;变更前:430040 湖北省武汉市东西湖区食品加工区汇通大道特1号;变更后:430040 湖北省武汉市东西湖区食品加工区汇通大道特1号(13)
2015-02-04
授权
状态信息
授权
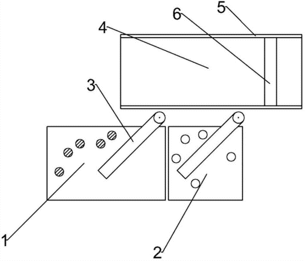
摘要
本实用新型涉及一种用于瓶盖收集的装置,包括:输送带;翻盖机构,其包括第一板体、第一支架和振动电机;集盖机构,其包括第二板体与第二支架;多个旋转板体,其在电动机的带动下水平旋转,所述旋转板体平面与所述输送带输送面平行,且位于所述输送带的上方,所述旋转板体内部嵌设有电磁铁;当所述旋转板体转动到输送带和第二板体上方时,电磁铁通电产生磁性,吸住所述输送带和所述第二板体上开口向下的瓶盖,当吸住瓶盖的旋转板体转动到所述第二板体上方时,电磁铁断电,磁性消失,瓶盖落到所述第二板体上。本实用新型收集的瓶盖排列整齐、朝向一致,不用人工手动翻盖,可以直接用于下一道工序,节省人力。


