授权公布号:CN204137832U
一种适用于传送带连用的表面除尘组合装置
有效
申请
2014-09-09
申请公布
1970-01-01
授权
2015-02-04
预估到期
2024-09-09
| 申请号 | CN201420516263.3 |
| 申请日 | 2014-09-09 |
| 授权公布号 | CN204137832U |
| 授权公告日 | 2015-02-04 |
| 分类号 | B65G45/24 |
| 分类 | 输送;包装;贮存;搬运薄的或细丝状材料; |
| 申请人名称 | 如意情生物科技股份有限公司 |
| 申请人地址 | 湖北省武汉市东西湖区食品加工区汇通大道特1号(13) |
专利法律状态
2016-05-11
专利权人的姓名或者名称、地址的变更
状态信息
专利权人的姓名或者名称、地址的变更;IPC(主分类):B65G45/24;变更事项:专利权人;变更前:武汉如意食用菌生物高科技有限公司;变更后:如意情生物科技股份有限公司;变更事项:地址;变更前:430040 湖北省武汉市东西湖区食品加工区汇通大道特1号;变更后:430040 湖北省武汉市东西湖区食品加工区汇通大道特1号(13)
2015-02-04
授权
状态信息
授权
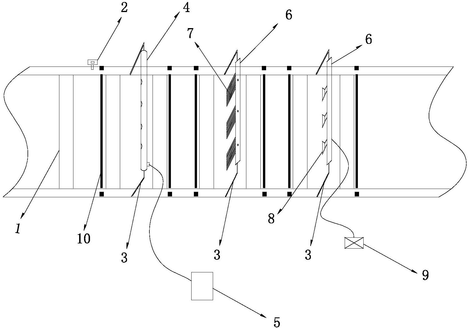
摘要
本实用新型公开了一种适用于传送带连用的表面除尘组合装置,包括:支撑架,其为竖直设置在传送带两侧的等高度杆体,所述传送带为水平安装的滚轮传送带,所述两侧等高度杆体未与传送带相接的一端的连线与传送带的运动方向垂直;除尘管,其位于传送带上方,所述除尘管两端分别可拆卸地连接在所述支撑架的两侧,所述除尘管上设置有进风孔,与传送带相对的一面设置有出风孔,所述除尘管内部为气室;空气压缩机,其与所述除尘管的进风口通过导管连接。本实用新型通过鼓吹压缩空气去除传送带上移动物体表面的渣屑与灰尘,结构简单、操作方便。


