授权公布号:CN216314896U
一种环保型水产运输用转运箱
有效
申请
2021-10-12
申请公布
1970-01-01
授权
2022-04-19
预估到期
2031-10-12
| 申请号 | CN202122456793.6 |
| 申请日 | 2021-10-12 |
| 授权公布号 | CN216314896U |
| 授权公告日 | 2022-04-19 |
| 分类号 | A01K63/02;A01K63/04 |
| 分类 | 农业;林业;畜牧业;狩猎;诱捕;捕鱼; |
| 申请人名称 | 湖北土老憨生态农业科技股份有限公司 |
| 申请人地址 | 湖北省宜昌市宜都市宜红大道666号土老憨科技园 |
专利法律状态
2022-04-19
授权
状态信息
授权
摘要
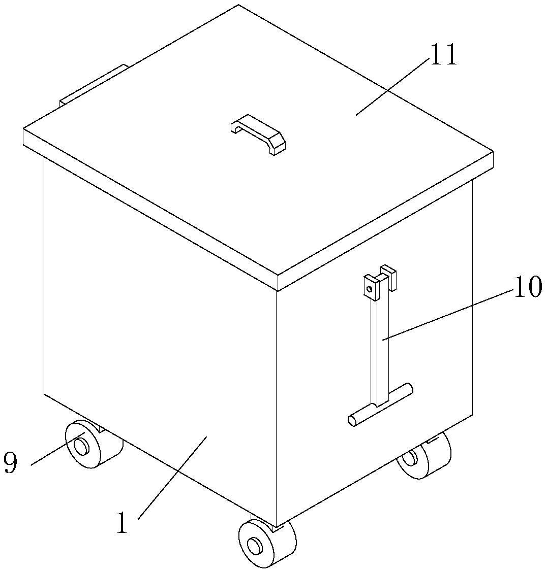
本实用新型公开了一种环保型水产运输用转运箱,包括箱体,所述箱体内腔靠近底面处活动连接有漏板,所述箱体左侧壁靠近底面处固定连接有过滤板,所述过滤板顶面固定连接有防护板,所述箱体左侧壁靠近底面处固定连接有排水管,所述排水管侧壁上设置有过滤机构,所述防护板左侧壁靠近底面处安装有活动门,所述箱体左侧设置有供氧机构,所述箱体底面靠近四角处均活动连接有万向轮,所述箱体右侧壁活动连接有拉杆,所述拉杆呈T形设置,本技术方案通过防护板、箱体和供氧机构等之间的相互配合,可对箱体内部进行供氧,避免水中氧气缺失,造成水产品成活率低,可有效的提高其使用效率。


