授权公布号:CN220373511U
陶瓷喷釉自动升降旋转装置
有效
申请
2023-07-18
申请公布
1970-01-01
授权
2024-01-23
预估到期
2033-07-18
| 申请号 | CN202321890694.1 |
| 申请日 | 2023-07-18 |
| 授权公布号 | CN220373511U |
| 授权公告日 | 2024-01-23 |
| 分类号 | B28B11/04 |
| 分类 | 加工水泥、黏土或石料; |
| 申请人名称 | 湖南新世纪陶瓷有限公司 |
| 申请人地址 | 湖南省株洲市醴陵经济开发区瓷谷大道旁 |
专利法律状态
2024-01-23
授权
状态信息
授权
摘要
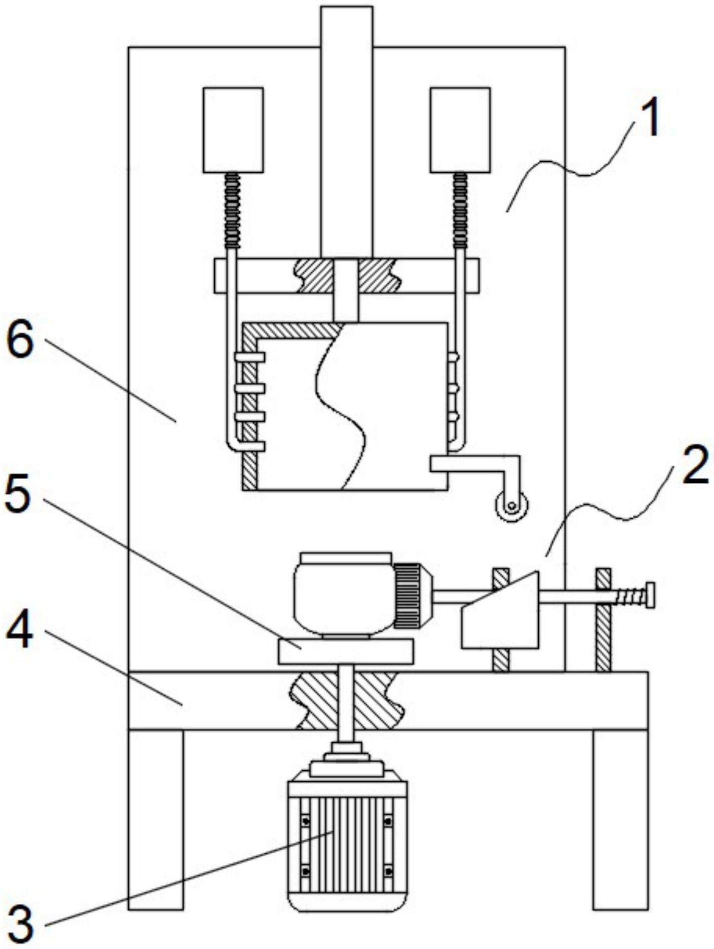
本实用新型涉及陶瓷喷釉自动升降旋转装置,包括工作台以及固定在其顶部的安装板,所述工作台的上方转动设置有用于摆放陶瓷器的支撑板,所述支撑板的一侧设置有用于给陶瓷器表面清灰的润湿机构,所述安装板的正面设置有用以给陶瓷器喷釉的上釉机构;当升降气缸的伸出端伸长至一半长度时,滚轮在斜块的斜面的中心位置处,此时,陶瓷器与毛刷之间存在间隙,将毛刷沾湿水分,开启驱动电机,同时升降气缸的伸出端收缩至最短,此时,滚轮与斜块分离,沾湿水分的毛刷将陶瓷器外壁上的灰尘清理掉,避免人工清理其表面灰尘的过程,从而防止对陶瓷器造成损伤。


