授权公布号:CN220518417U
货箱防涨箱装置及半挂车
有效
申请
2023-05-22
申请公布
1970-01-01
授权
2024-02-23
预估到期
2033-05-22
| 申请号 | CN202321270056.X |
| 申请日 | 2023-05-22 |
| 授权公布号 | CN220518417U |
| 授权公告日 | 2024-02-23 |
| 分类号 | B62D33/00;B60J5/04 |
| 分类 | 无轨陆用车辆; |
| 申请人名称 | 三河市新宏昌专用车有限公司 |
| 申请人地址 | 河北省三河市燕郊高新区留山大街11号 |
专利法律状态
2024-02-23
授权
状态信息
授权
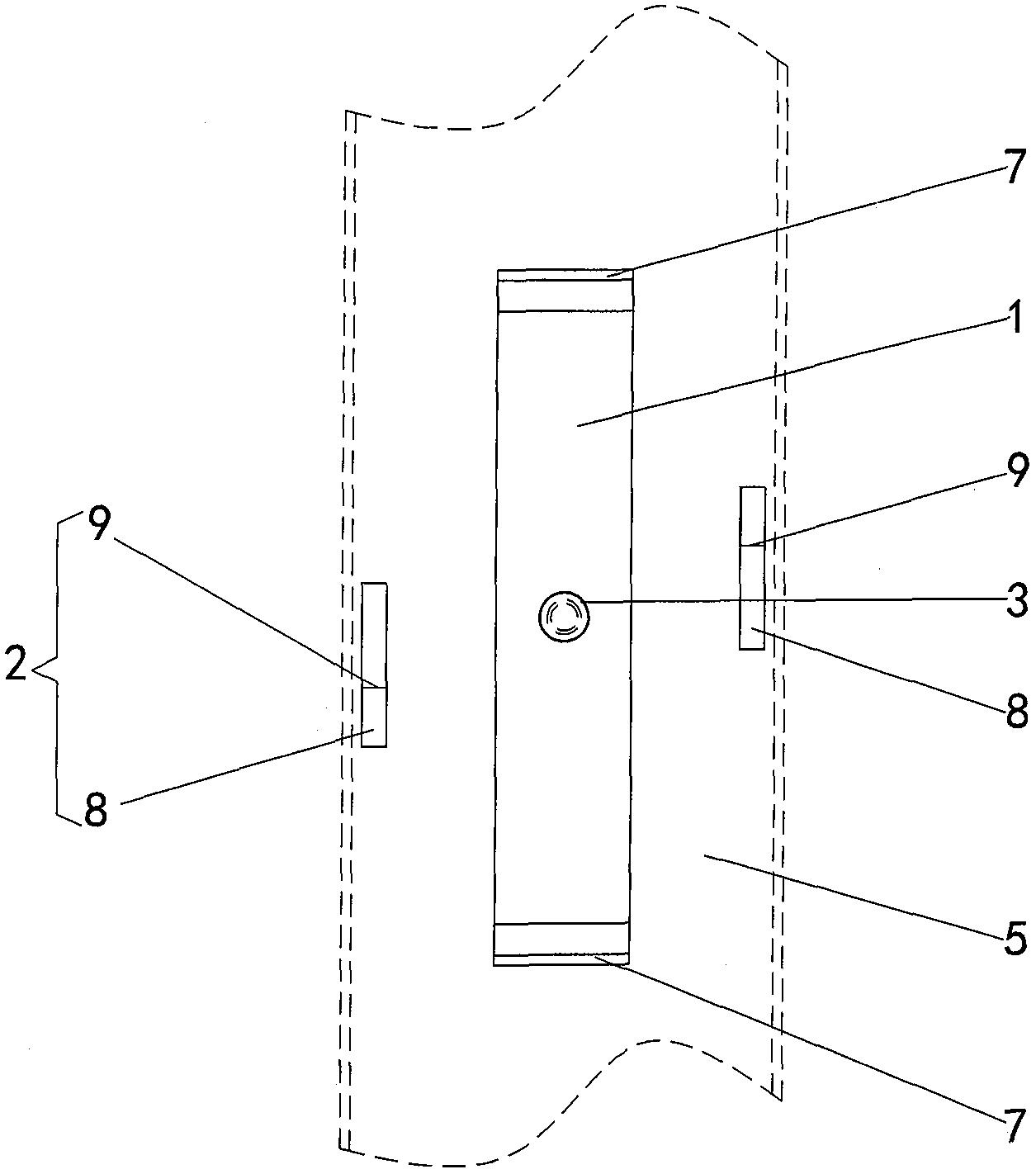
摘要
一种货箱防涨箱装置及半挂车,防涨箱装置包括竖直向的防涨板和两个定位板,防涨板铰接于相邻两个货箱侧门之间的立柱上,两个定位板安装于立柱上且位于防涨板的两侧,两个定位板与立柱连接的一端设有开口槽,防涨板长度大于相邻两个货箱侧门之间的距离,当防涨板转至水平向时,防涨板两端卡置于两个开口槽内,使两个相邻货箱侧门被关闭,当转至竖直向时,可使相邻两个货箱侧门不再受到防涨板限制,快速打开;半挂车包括多个货箱侧门,相邻两个货箱侧门之间连接的立柱上安装有至少一个货箱防涨箱装置。本实用新型结构设计简单,制造成本低,安装简单,操作方便,可做为快速开启设备快速开闭货箱侧门,在闭合后能加强货箱侧门强度,减少货箱变形。


