授权公布号:CN216185533U
一种双矩管立柱
有效
申请
2021-10-26
申请公布
1970-01-01
授权
2022-04-05
预估到期
2031-10-26
| 申请号 | CN202122576394.3 |
| 申请日 | 2021-10-26 |
| 授权公布号 | CN216185533U |
| 授权公告日 | 2022-04-05 |
| 分类号 | B62D33/00 |
| 分类 | 无轨陆用车辆; |
| 申请人名称 | 三河市新宏昌专用车有限公司 |
| 申请人地址 | 河北省三河市燕郊高新区留山大街11号 |
专利法律状态
2022-04-05
授权
状态信息
授权
摘要
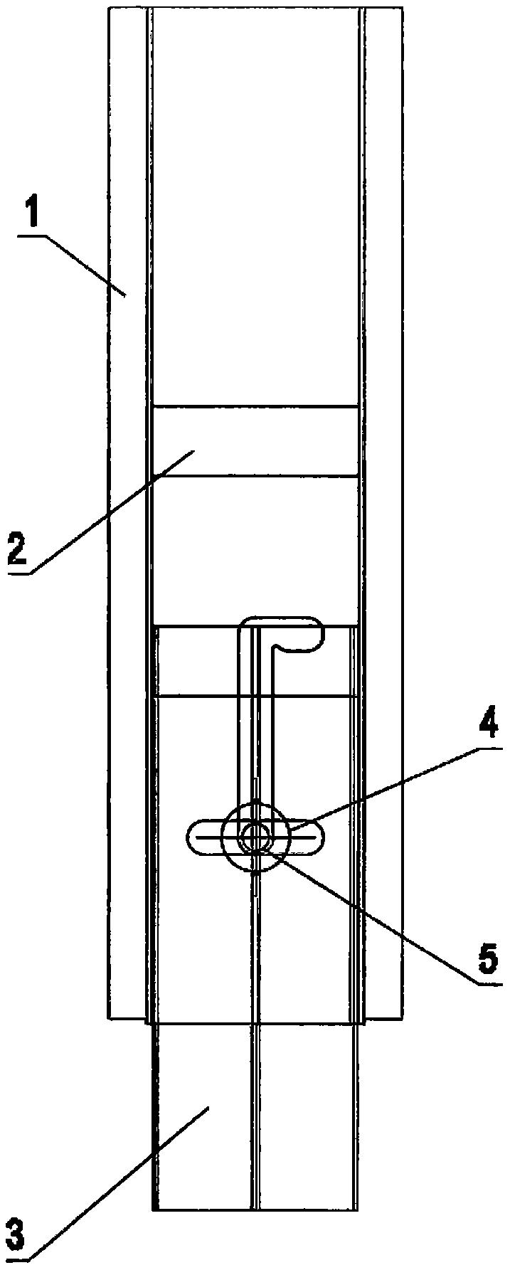
本实用新型公开一种双矩管立柱,包括立柱、盖板、立柱插装、扳手连接板和扳手,所述立柱内部固定连接有盖板,所述立柱下侧内部套接有立柱插装,所述立柱插装前侧滑动连接有扳手连接板,所述扳手连接板前端固定连接有扳手,且扳手分别贯穿立柱插装和立柱,所述立柱前侧开设有方便扳手纵向移动的轨道槽,所述立柱插装采用双矩管,所述立柱插装前侧开设有方便扳手连接板和扳手横向移动的轨道槽,工艺制作简单,制造成本低,安装简单,操作方便,非常适用于栏板半挂车;立柱插装采用双矩管,利用双矩管加强立柱,利用立柱加强车厢;同时双矩管立柱采用快速插装技术,能够实现快速插装,从而能够实现快速装配,加强强度,减少货箱变形。


