授权公布号:CN210616982U
螺旋自磨尖凿
有效
申请
2019-07-31
申请公布
1970-01-01
授权
2020-05-26
预估到期
2029-07-31
| 申请号 | CN201921228336.8 |
| 申请日 | 2019-07-31 |
| 授权公布号 | CN210616982U |
| 授权公告日 | 2020-05-26 |
| 分类号 | B28D1/28 |
| 分类 | 加工水泥、黏土或石料; |
| 申请人名称 | 浙江永盛工具有限公司 |
| 申请人地址 | 浙江省温州市乐清市芙蓉镇工业区 |
专利法律状态
2020-05-26
授权
状态信息
授权
摘要
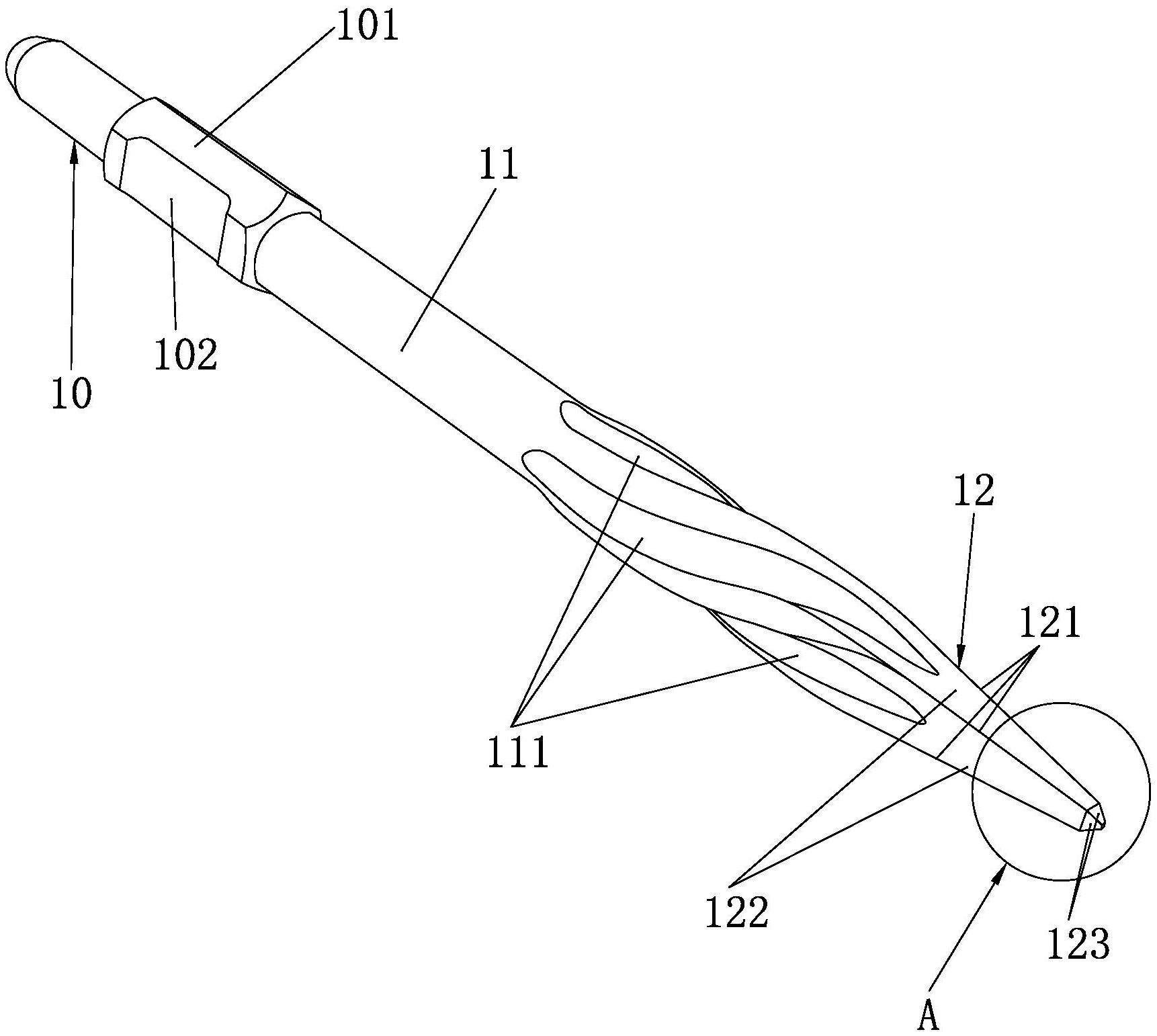
本实用新型涉及一种螺旋自磨尖凿,包括凿柄、凿体、凿尖,凿尖的外壁上形成有四根对称分布的棱边,四根棱边向凿体延伸且形成有四个工作面,所述的凿尖的顶部具有与四个工作面相连接的四个锐利斜面,所述的凿体上设置有四条螺旋状排屑槽,所述的各排屑槽的一端分别延伸在四个工作面上。本实用新型具有结构简单、性能稳定可靠、钻凿效率高、寿命长的优点。


