授权公布号:CN213247485U
一种多功能的桌子
有效
申请
2020-08-31
申请公布
1970-01-01
授权
2021-05-25
预估到期
2030-08-31
| 申请号 | CN202021870558.2 |
| 申请日 | 2020-08-31 |
| 授权公布号 | CN213247485U |
| 授权公告日 | 2021-05-25 |
| 分类号 | A47B13/02;A47B13/00;A47B9/00;A47B13/08;A47B1/04 |
| 分类 | 家具;家庭用的物品或设备;咖啡磨;香料磨;一般吸尘器; |
| 申请人名称 | 中山市东港家具制造有限公司 |
| 申请人地址 | 广东省中山市东升镇葵兴大道兆兴街5号 |
专利法律状态
2021-05-25
授权
状态信息
授权
摘要
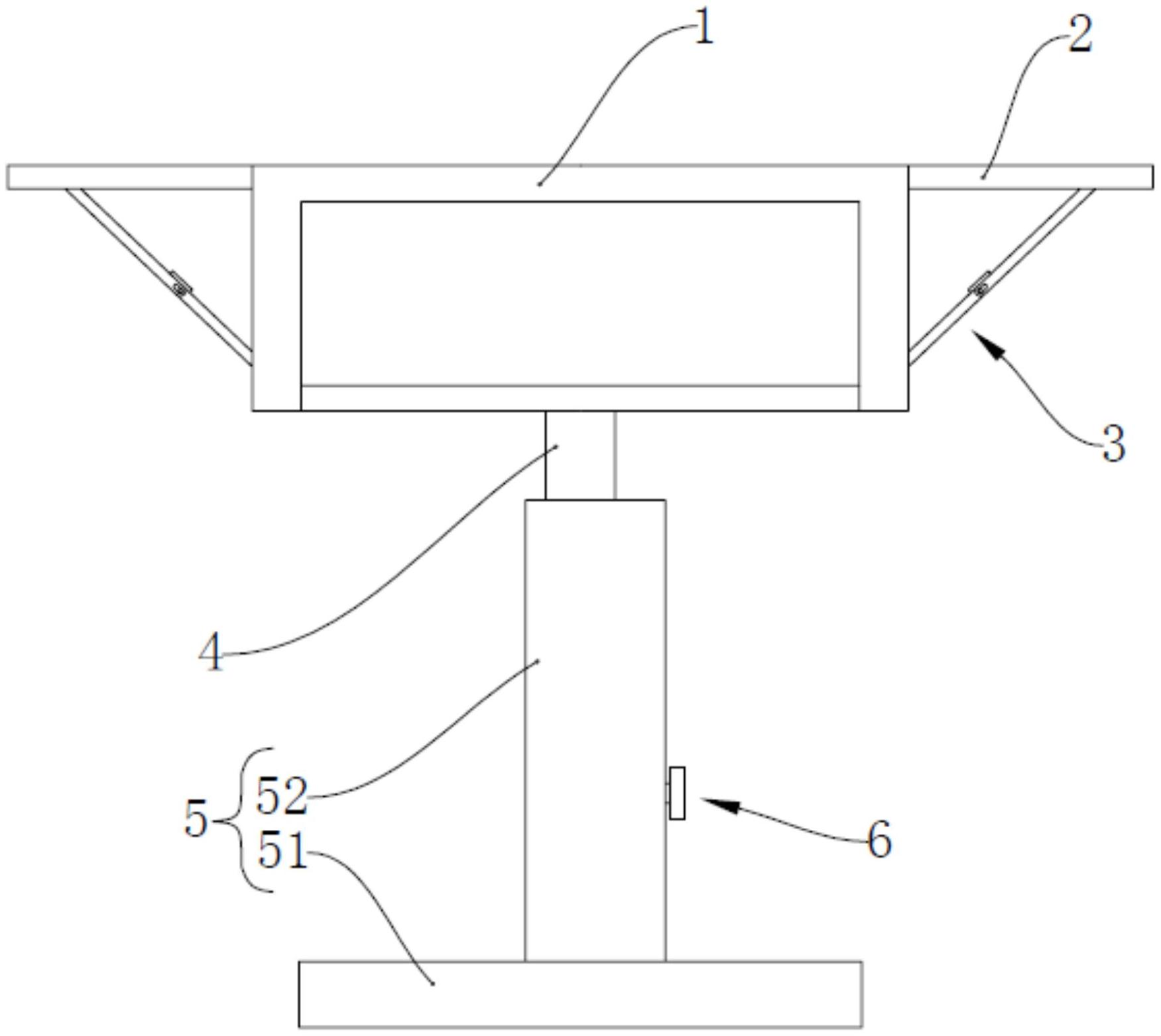
本实用新型公开了一种多功能的桌子,包括主桌面、副桌面、支撑组件、桌腿、支撑底座和升降调节机构;所述副桌面的一端与所述主桌面的侧壁铰接,所述副桌面的另一端近端部与所述支撑组件的一端铰接,所述支撑组件的另一端与所述主桌面的侧壁铰接,所述支撑组件可收合设置在所述主桌面和所述副桌面之间;所述桌腿的上端与所述主桌面的下表面连接,所述桌腿的下端与所述支撑底座连接,所述升降调节机构设置在所述桌腿和所述支撑底座之间;本申请旨在提供一种多功能的桌子,能够调节桌面的使用面积,同时能够调整桌子的高度。


