授权公布号:CN112003200B
一种配电用剥线装置
有效
申请
2020-09-03
申请公布
2020-11-27
授权
2022-06-28
预估到期
2040-09-03
| 申请号 | CN202010917768.0 |
| 申请日 | 2020-09-03 |
| 申请公布号 | CN112003200A |
| 申请公布日 | 2020-11-27 |
| 授权公布号 | CN112003200B |
| 授权公告日 | 2022-06-28 |
| 分类号 | H02G1/12 |
| 分类 | 发电、变电或配电; |
| 申请人名称 | 河南瑞尔电气股份有限公司 |
| 申请人地址 | 河南省许昌市中原电气谷创业孵化园 |
专利法律状态
2022-06-28
授权
状态信息
授权
2020-11-27
公布
状态信息
公布
摘要
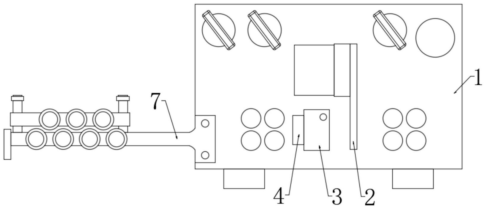
本发明公开了一种配电用剥线装置,包括剥线装置主体,所述剥线装置主体的前端表面设置有支撑板,所述支撑板的一端表面对称设置有两组清洁套管;与现有技术相比,本发明能达到的有益效果是:通过设置的支撑板,有效避免了线缆在剥线之前无法进行固定,便于同时操作多组线缆进行调节固定,便于对不同规格的线缆进行剥线,大大提高了装置的通用性;同时有效避免了线缆在剥线之前无法进行固定,便于同时操作多组线缆进行调节固定,便于对不同规格的线缆进行剥线,大大提高了装置的通用性;通过设置的固定块,有效避免了清洁套管的安装过程繁琐,有利于节省人力成本,大大提高了工作人员的安装、拆卸效率。


