授权公布号:CN215603833U
一种用于酒店房间的桌子
有效
申请
2021-06-25
申请公布
1970-01-01
授权
2022-01-25
预估到期
2031-06-25
| 申请号 | CN202121466452.0 |
| 申请日 | 2021-06-25 |
| 授权公布号 | CN215603833U |
| 授权公告日 | 2022-01-25 |
| 分类号 | A47B3/06;A47B13/08;A47B13/02;A47B21/06;A47B83/04;A47B47/00;F21V33/00;F21Y115/10N |
| 分类 | 家具;家庭用的物品或设备;咖啡磨;香料磨;一般吸尘器; |
| 申请人名称 | 上海太亿企业股份有限公司 |
| 申请人地址 | 上海市宝山区富联三路33号9幢 |
专利法律状态
2022-01-25
授权
状态信息
授权
摘要
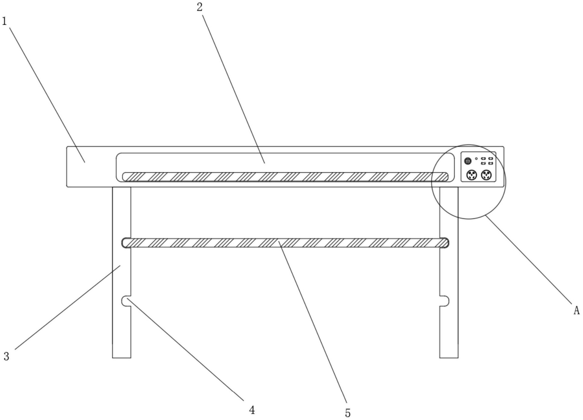
本实用新型涉及酒店设备设施技术领域,且公开了一种用于酒店房间的桌子,包括桌板,所述桌板侧边设置有板材箱,所述桌板底部固定连接有桌腿,所述桌腿里侧开设有U型槽,所述U型槽内壁卡接有附加板,所述桌板侧边设置有凹槽,所述凹槽内部固定连接有电源开关,所述电源开关右侧设置有通电显示灯,所述通电显示灯右侧设置有USB接口,所述桌板顶部开设有置物槽。该用于酒店房间的桌子,通过桌板、板材箱、桌腿、U型槽和附加板等部分的连接和作用,桌板设置板材箱,桌板与桌腿相连接,桌腿设置U型槽,U型槽与附加板相连接,附加板存放在板材箱,达到简单操作组合拆卸,快捷找准拼接接口,节约时间提高效率的效果。


