授权公布号:CN215423629U
一种酒店用防噪声木质柜
有效
申请
2021-07-05
申请公布
1970-01-01
授权
2022-01-07
预估到期
2031-07-05
| 申请号 | CN202121537443.6 |
| 申请日 | 2021-07-05 |
| 授权公布号 | CN215423629U |
| 授权公告日 | 2022-01-07 |
| 分类号 | A47B81/00;A47B61/00;A47B51/00;A47B97/00;G10K11/16 |
| 分类 | 家具;家庭用的物品或设备;咖啡磨;香料磨;一般吸尘器; |
| 申请人名称 | 上海太亿企业股份有限公司 |
| 申请人地址 | 上海市宝山区富联三路33号9幢 |
专利法律状态
2022-01-07
授权
状态信息
授权
摘要
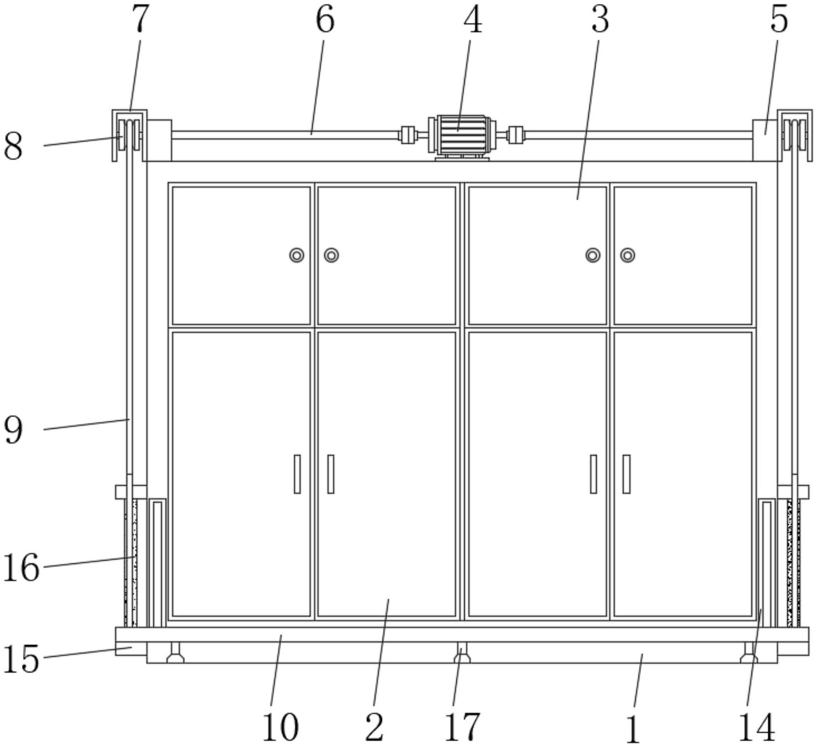
本实用新型涉及酒店家具技术领域,且公开了一种酒店用防噪声木质柜,包括柜体,所述柜体的正面设置有第一柜门和第二柜门,所述柜体的顶部固定安装有双轴控制电机,所述柜体的顶部固定连接有两个轴承座,两个所述轴承座的内部均活动连接有连接杆。该酒店用防噪声木质柜,通过轨道、连接块、滚轮、滑道、固定块和固定杆之间的相互配合,从而可以对U型垫板进行限位,使得U型垫板只能进行上下移动,且通过双轴控制电机工作带动两个连接杆转动,并使得滑轮转动,从而对拉绳进行收卷或放出,进而使得U型垫板可以进行上下移动,使得住客可以将第二柜门进行打开,便于将物品从顶部的衣柜格内部进行拿取或放置进去。


