授权公布号:CN110345334B
一种波纹管
有效
申请
2019-07-24
申请公布
2019-10-18
授权
2020-09-08
预估到期
2039-07-24
| 申请号 | CN201910669552.4 |
| 申请日 | 2019-07-24 |
| 申请公布号 | CN110345334A |
| 申请公布日 | 2019-10-18 |
| 授权公布号 | CN110345334B |
| 授权公告日 | 2020-09-08 |
| 分类号 | F16L55/24;F16L11/00 |
| 分类 | 工程元件或部件;为产生和保持机器或设备的有效运行的一般措施;一般绝热; |
| 申请人名称 | 江苏亚星波纹管有限公司 |
| 申请人地址 | 江苏省南通市海安县南莫镇青墩村十组 |
专利法律状态
2020-09-08
授权
状态信息
授权
2020-09-01
专利申请权、专利权的转移
状态信息
专利申请权的转移;IPC(主分类):F16L 55/24;专利申请号:2019106695524;登记生效日:20200813;变更事项:申请人;变更前权利人:李海龙;变更后权利人:江苏亚星波纹管有限公司;变更事项:地址;变更前权利人:510006 广东省广州市番禺区广州大学城外环西路100号广东工业大学;变更后权利人:226681 江苏省南通市海安县南莫镇青墩村十组
2019-11-12
实质审查的生效
状态信息
实质审查的生效;IPC(主分类):F16L55/24;专利申请号:2019106695524;申请日:20190724
2019-10-18
发明专利申请公布
状态信息
公布
摘要
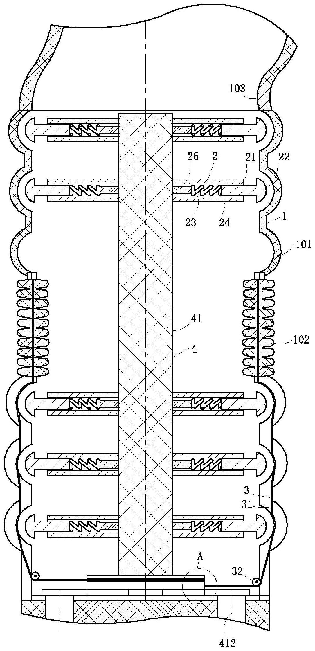
本发明涉及波纹管领域,具体的说是一种波纹管,包括管体,所述管体包括连接管、伸缩管和波纹管,所述连接管的中部设置有一段用来缓冲压力的伸缩管,设置在所述连接管内部用于清除管道内壁粘附物的清理机构,设置在所述伸缩管内部用于伸长的拉伸机构,设置在所述连接管内部与拉伸机构连接的用于在大压力下的排放机构。对于不同流速的污泥排出,使伸缩管伸缩的长度小幅度改变,带动清理机构的刮除头在管道的内部实现周向小角度转动,实现对管道内侧壁上的污泥进行刮除,当内部流量较大时,伸缩管伸缩长度较大,伸缩管使清理机构在周向转动的同时实现上下运动,实现管道内部污泥的进一步清理。


