授权公布号:CN217423525U
一种酱油发酵车间抽风装置
有效
申请
2022-03-15
申请公布
1970-01-01
授权
2022-09-13
预估到期
2032-03-15
| 申请号 | CN202220562619.1 |
| 申请日 | 2022-03-15 |
| 授权公布号 | CN217423525U |
| 授权公告日 | 2022-09-13 |
| 分类号 | F24F7/06;F24F11/89;F28B3/00;F28B9/08 |
| 分类 | 供热;炉灶;通风; |
| 申请人名称 | 加加食品集团股份有限公司 |
| 申请人地址 | 湖南省长沙市宁乡经济技术开发区站前路 |
专利法律状态
2022-09-13
授权
状态信息
授权
摘要
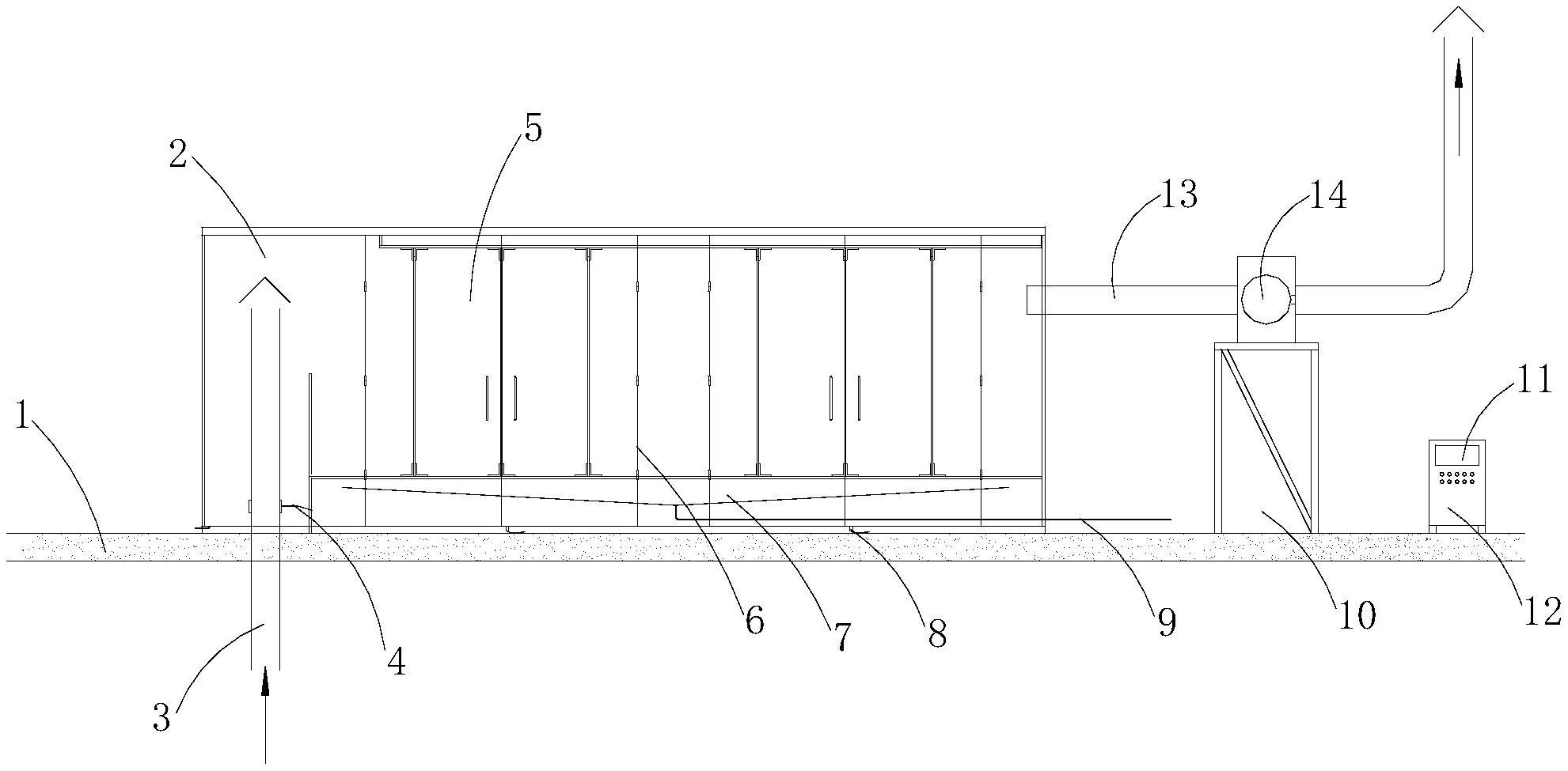
本实用新型提出了一种酱油发酵车间抽风装置,包括封闭设置的冷却间,所述冷却间内设有若干块竖直设置的冷却板,所述冷却板上设有若干个通气孔,所述冷却间的一端设有抽气管,所述抽气管的一端与所述冷却间连通,所述抽气管的另一端与酱油发酵车间连通;所述冷却间的另一端还设有出风管,所述出风管的一端置于所述冷却间内,并与所述冷却间连通。此结构的酱油发酵车间抽风装置,工作时,酱油发酵车间的蒸汽从抽气管进入至冷却间内,在冷却间经冷却板冷却后,形成水和气,水顺着冷却板向下流出,气则经出风管排出。总体而言,其较好的解决了现有酱油发酵车间排放不达标,以及发酵车间过于潮湿,酱油品质无法保障等问题。


