授权公布号:CN217885006U
一种布酱机
有效
申请
2022-03-02
申请公布
1970-01-01
授权
2022-11-25
预估到期
2032-03-02
| 申请号 | CN202220441728.8 |
| 申请日 | 2022-03-02 |
| 授权公布号 | CN217885006U |
| 授权公告日 | 2022-11-25 |
| 分类号 | A23L27/50;A23P30/00 |
| 分类 | 其他类不包含的食品或食料;及其处理; |
| 申请人名称 | 加加食品集团股份有限公司 |
| 申请人地址 | 湖南省长沙市宁乡经济技术开发区站前路 |
专利法律状态
2022-11-25
授权
状态信息
授权
摘要
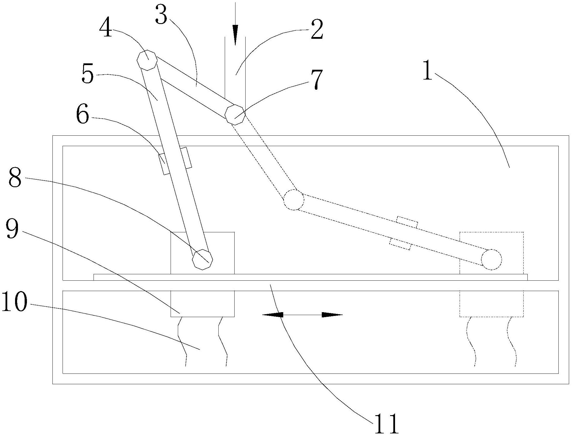
本实用新型提出了一种布酱机,包括机架,所述机架上方设有进料管,所述机架上设有可在机架上移动的分布箱,所述进料管与所述分布箱之间还设有若干根通管,若干根通管之间设有接头,相互连接的通管可绕所述接头旋转,所述分布箱移动时,带动若干根通管在所述机架上移动。此结构的布酱机,酱料从进料管进入至若干根相互连通的通管内,通过通管和接头进入至分布箱中,再通过分布箱在机架上移动,从而实现均匀布料。与现有结构的布料机相比,其结构更为简单实用、布料也更为均匀,布料过程无须人工干预,工作效率也更高。


