授权公布号:CN212697563U
一种大蒜清洗输送粉碎系统
有效
申请
2020-07-06
申请公布
1970-01-01
授权
2021-03-16
预估到期
2030-07-06
| 申请号 | CN202021306688.3 |
| 申请日 | 2020-07-06 |
| 授权公布号 | CN212697563U |
| 授权公告日 | 2021-03-16 |
| 分类号 | B08B3/02;A23N12/02;B08B3/04;B02C23/02 |
| 分类 | 其他类不包含的食品或食料;及其处理; |
| 申请人名称 | 青岛柏兰集团有限公司 |
| 申请人地址 | 山东省青岛市胶州市广州北路845号 |
专利法律状态
2021-03-16
授权
状态信息
授权
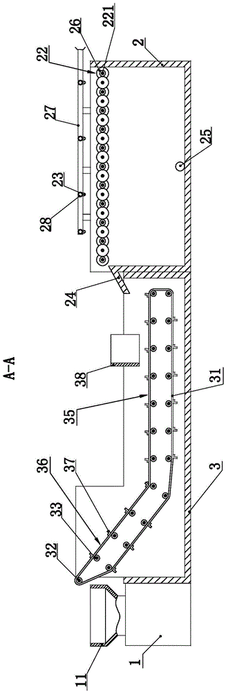
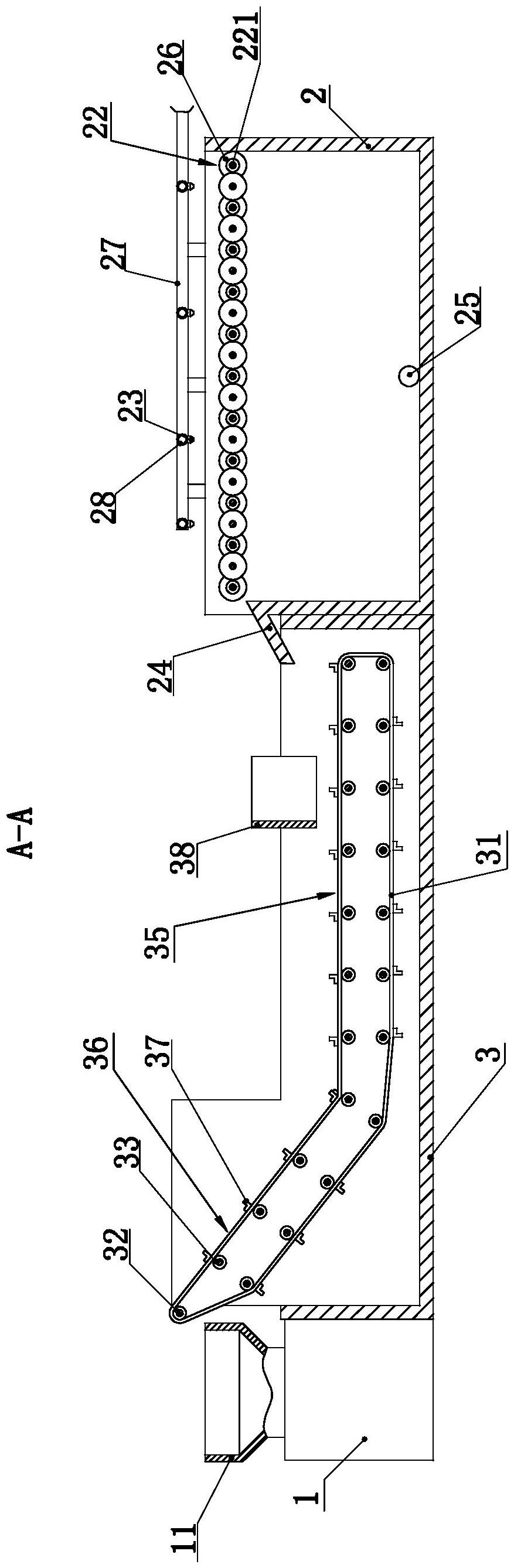
摘要
一种大蒜清洗输送粉碎系统,涉及食品加工技术领域,用于解决现有技术中的大蒜清洗和粉碎工作缺乏连续性的问题。一种大蒜清洗输送粉碎系统,包括一级清洗装置、二级清洗装置和大蒜粉碎机,所述一级清洗装置、所述二级清洗装置和所述大蒜粉碎机依次设置。有益效果是,便于提高大蒜清洗粉碎工作的连续性,便于提高清洗效果。


