授权公布号:CN215189192U
高温翻转杀菌机
有效
申请
2021-08-02
申请公布
1970-01-01
授权
2021-12-17
预估到期
2031-08-02
| 申请号 | CN202121774781.1 |
| 申请日 | 2021-08-02 |
| 授权公布号 | CN215189192U |
| 授权公告日 | 2021-12-17 |
| 分类号 | A23L3/02 |
| 分类 | 其他类不包含的食品或食料;及其处理; |
| 申请人名称 | 青岛柏兰集团有限公司 |
| 申请人地址 | 山东省青岛市胶州市广州北路845号 |
专利法律状态
2021-12-17
授权
状态信息
授权
摘要
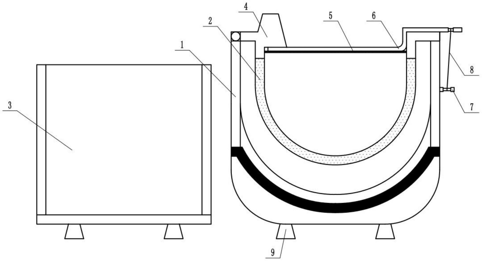
本实用新型公开了一种高温翻转杀菌机,涉及食品加工技术领域,箱体设有开口腔,箱体的底端设有加热腔,加热腔位于开口腔的下方,翻转箱与箱体旋转设置,翻转箱为开口式,翻转箱的外侧设有通孔,收集箱设置在箱体的一侧,收集箱与翻转箱对应设置,卡板设置在翻转箱的顶端,合盖活动设置在翻转箱上,压杆为折状,压杆的底端设置在合盖和卡板之间,压杆的中部卡在翻转箱的侧沿处,固定杆设置在箱体的侧表面外侧,绑线连接固定杆和压杆的手柄处。本实用新型的有益效果是,采用高温水杀毒,高温水能够覆盖整个包装袋,杀毒效果好。在使用的过程中,操作人员可以在包装食品高温水杀毒过程中,收集整理完成消杀的包装食品,降低人工成本,提高生产效率。


